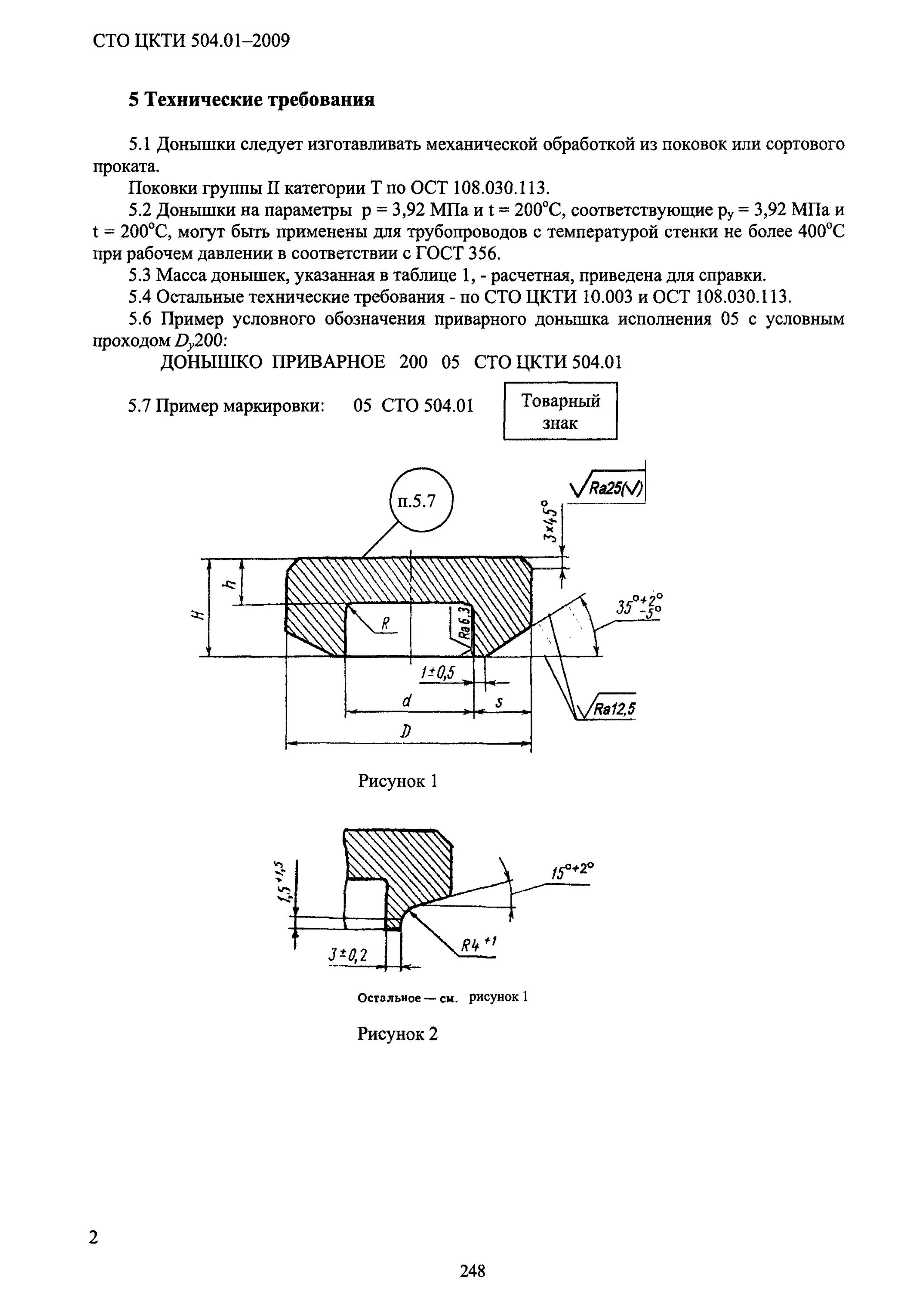
2009 01 01