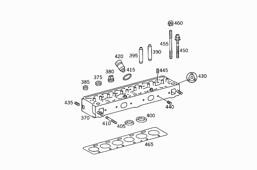
69 919