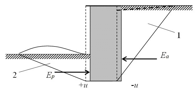
Активное и пассивное давление