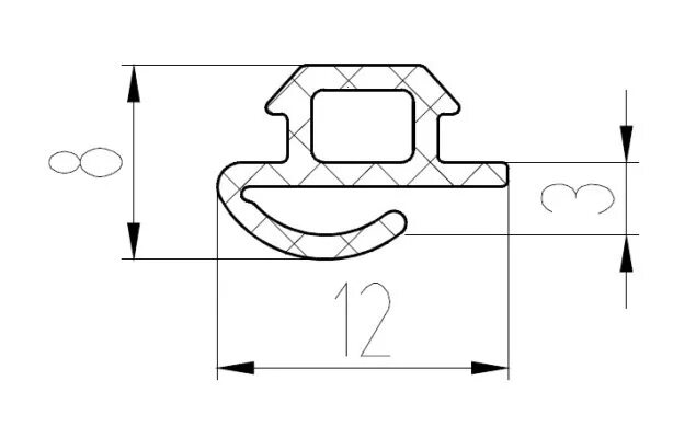
Алюминиевые уплотнители