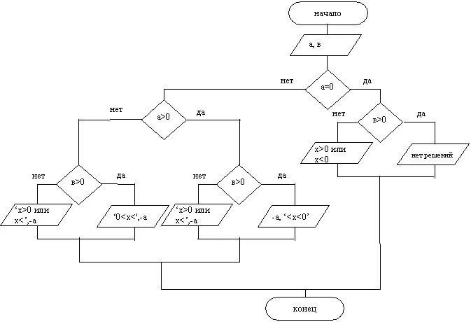
Ax b c решение