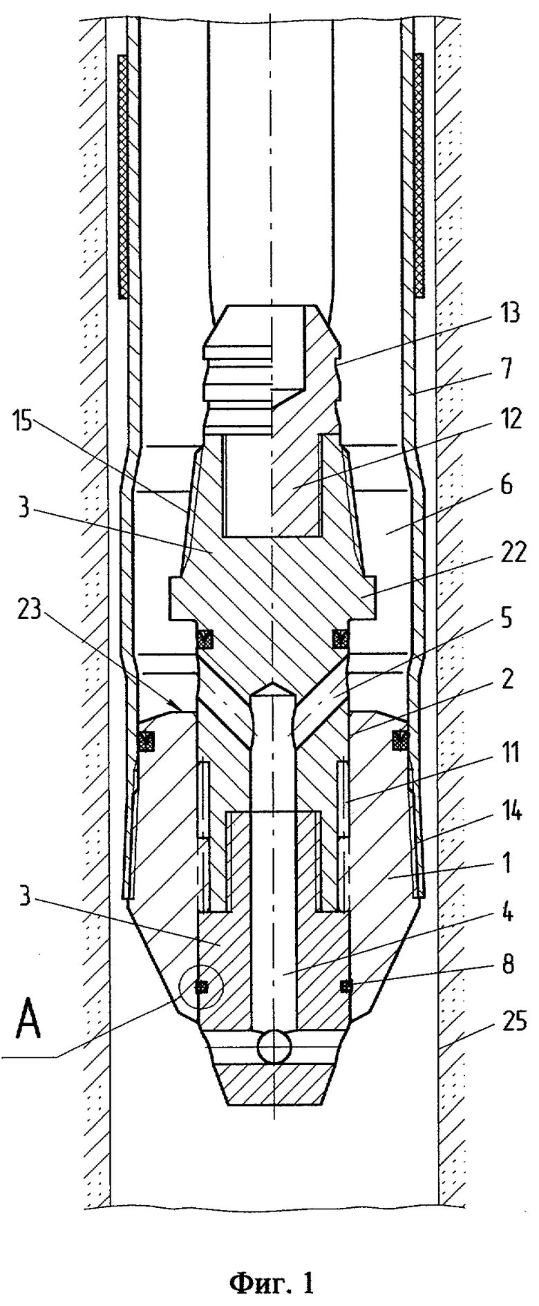
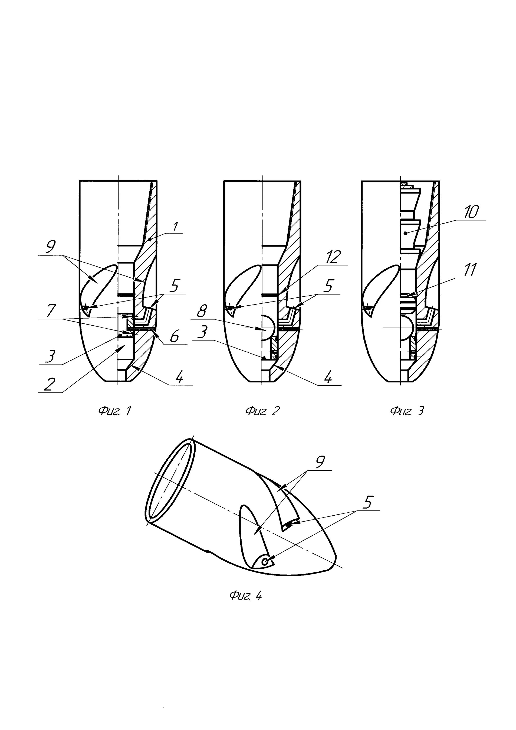
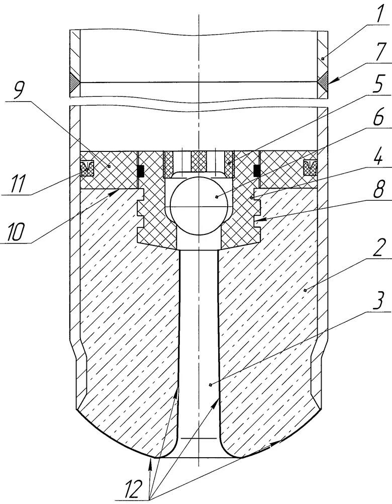
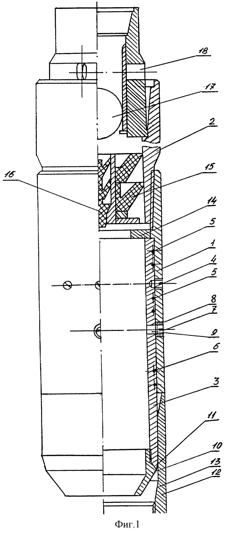
Башмак скважины