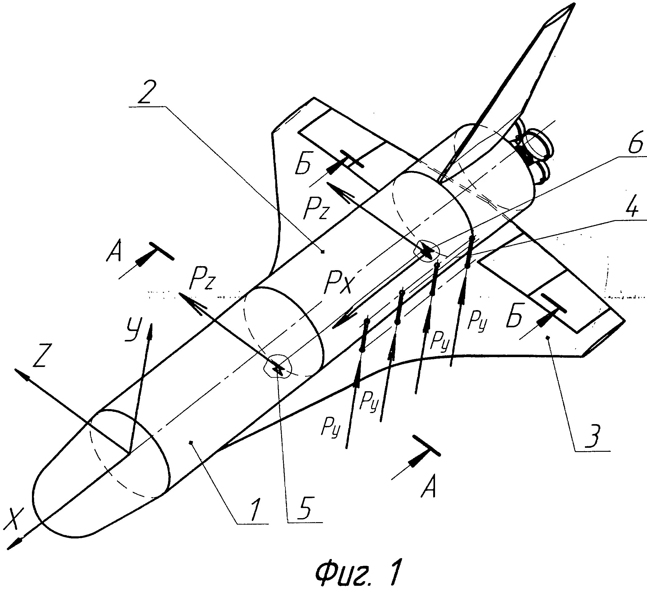
Беспилотник самолетного типа размеры