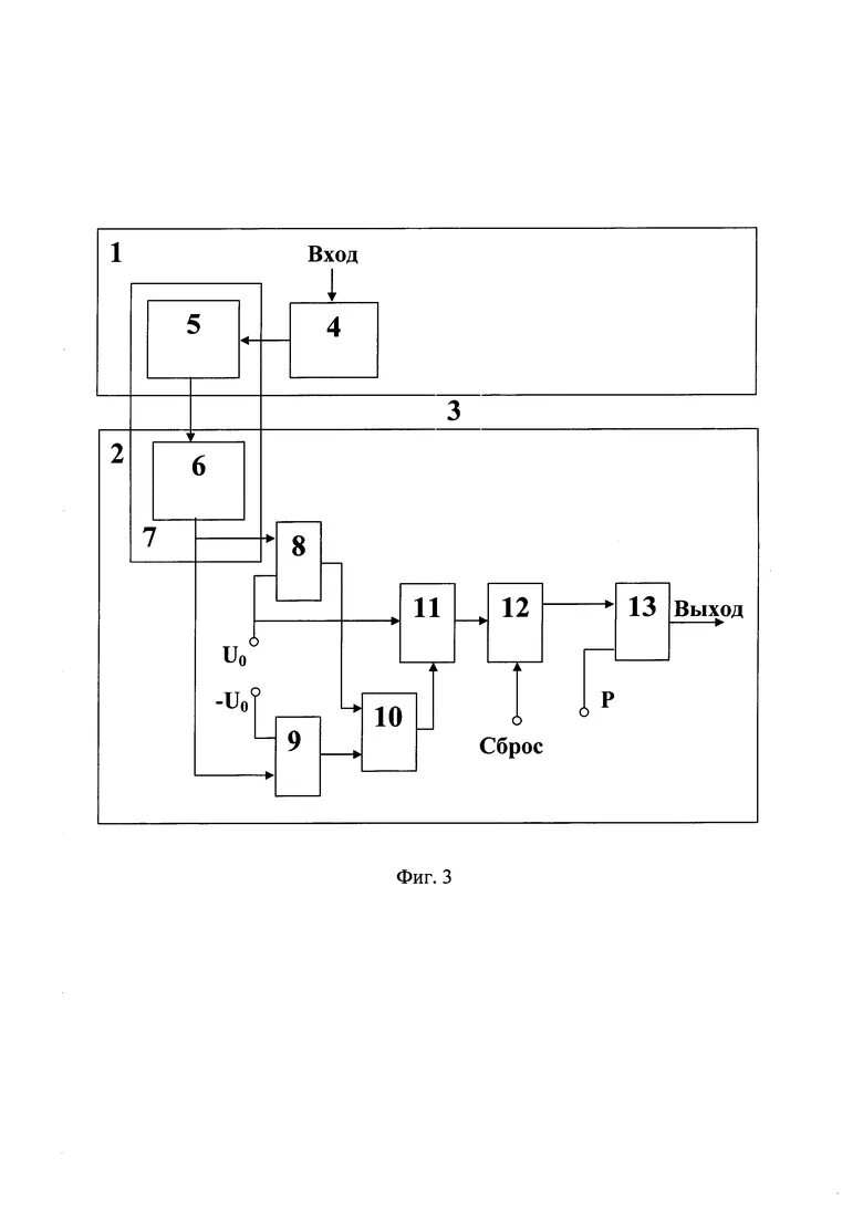
Биполярный сигнал