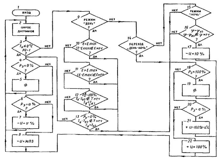
Блок схема алгоритма управления