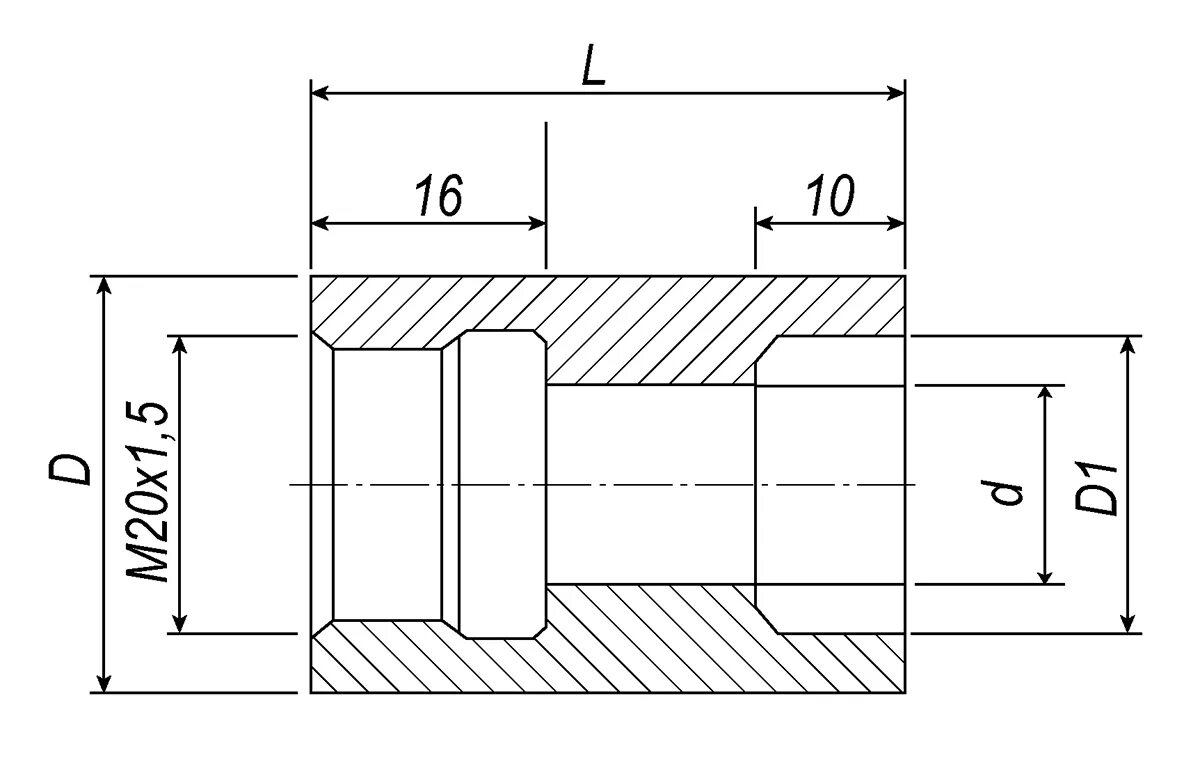
Бобышка м20х 1.5