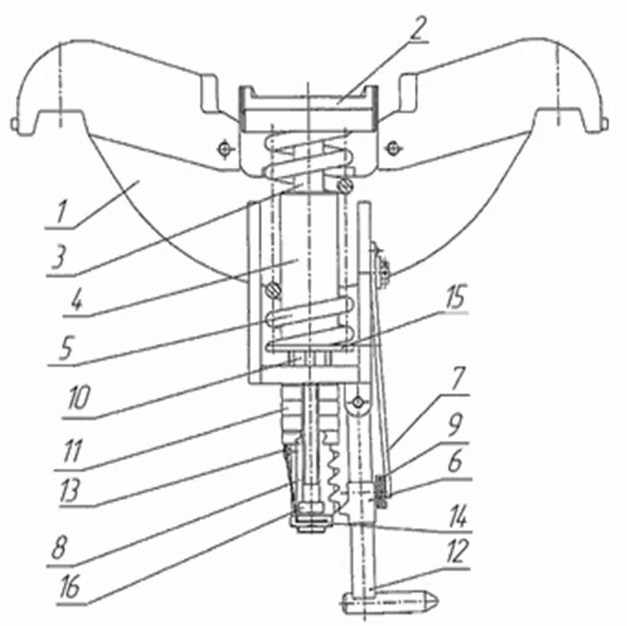
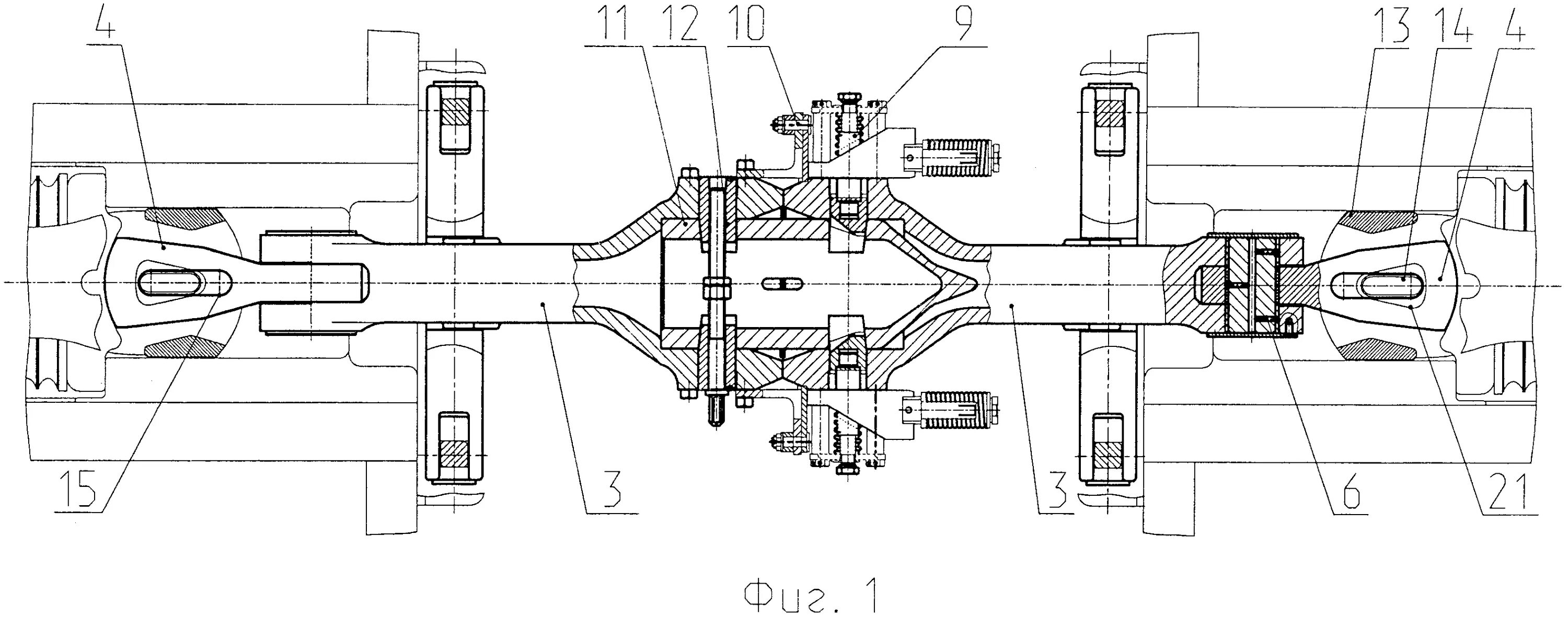
Бсу тм136