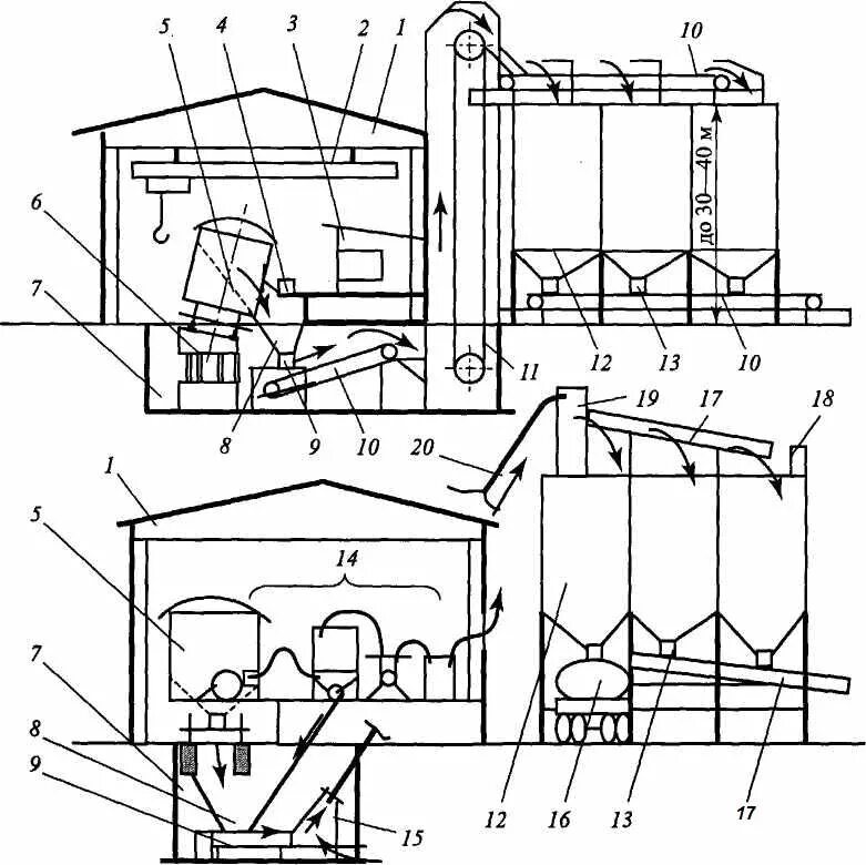
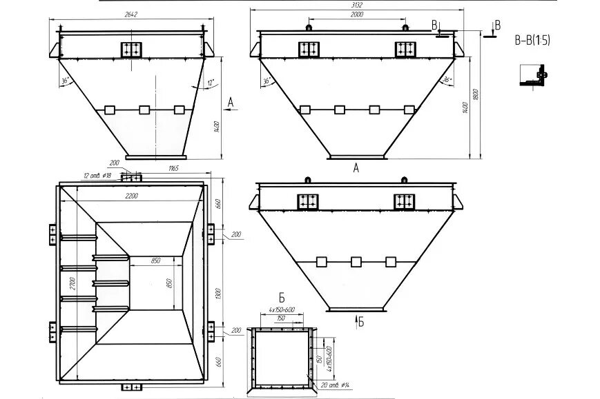
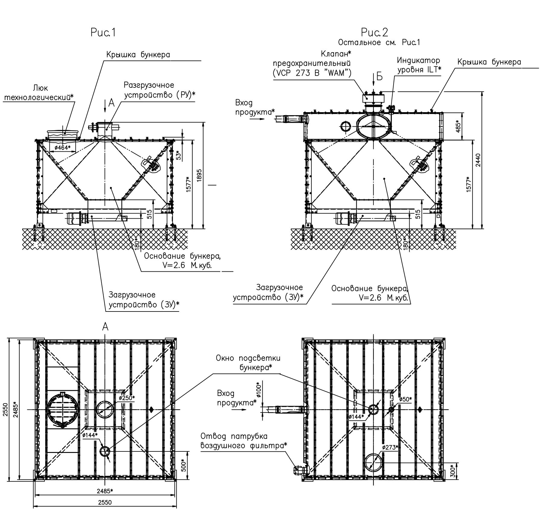
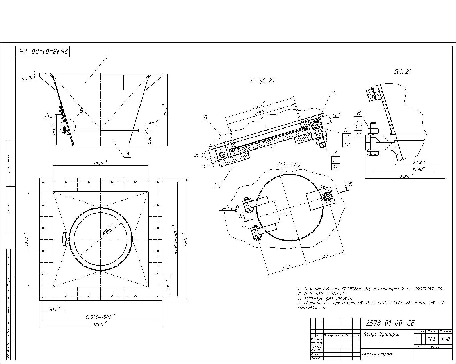
Бункер технологический