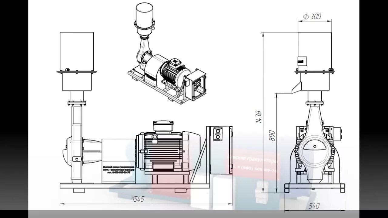
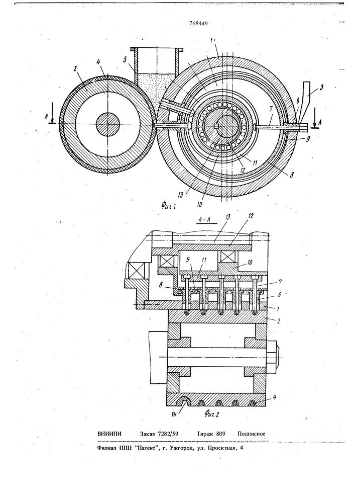
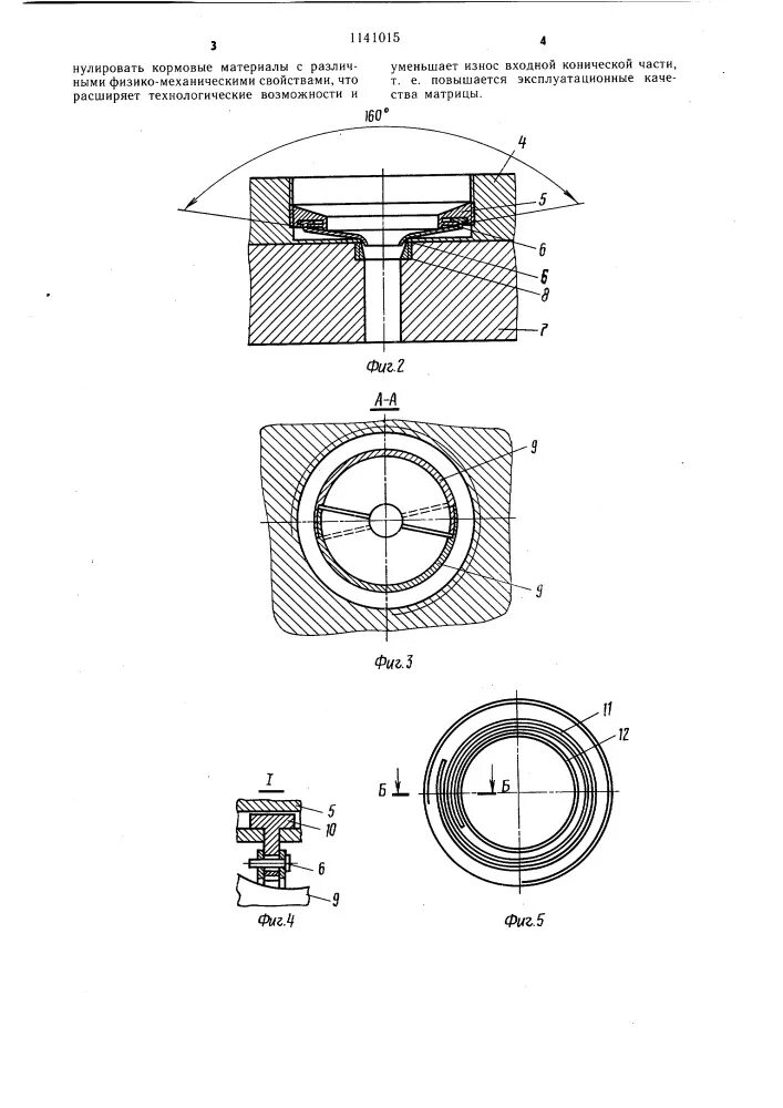
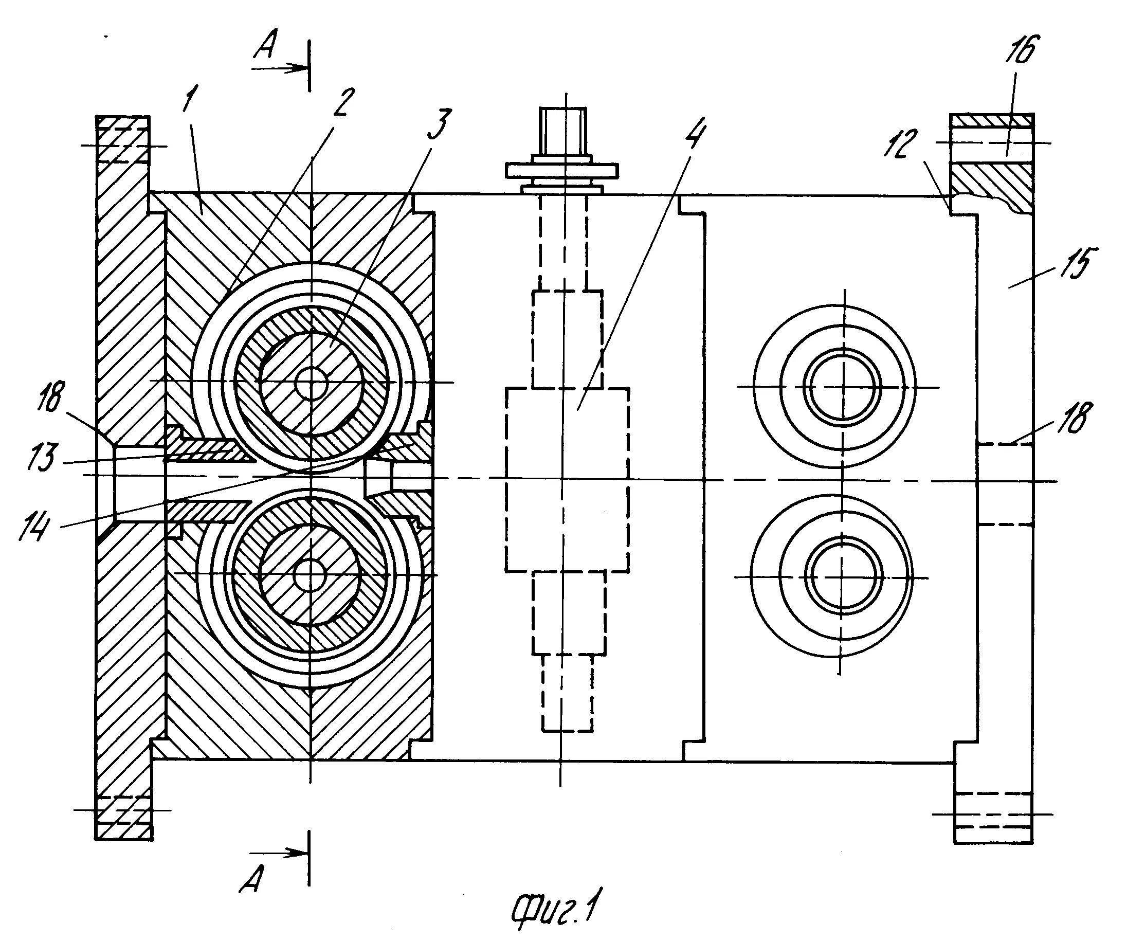
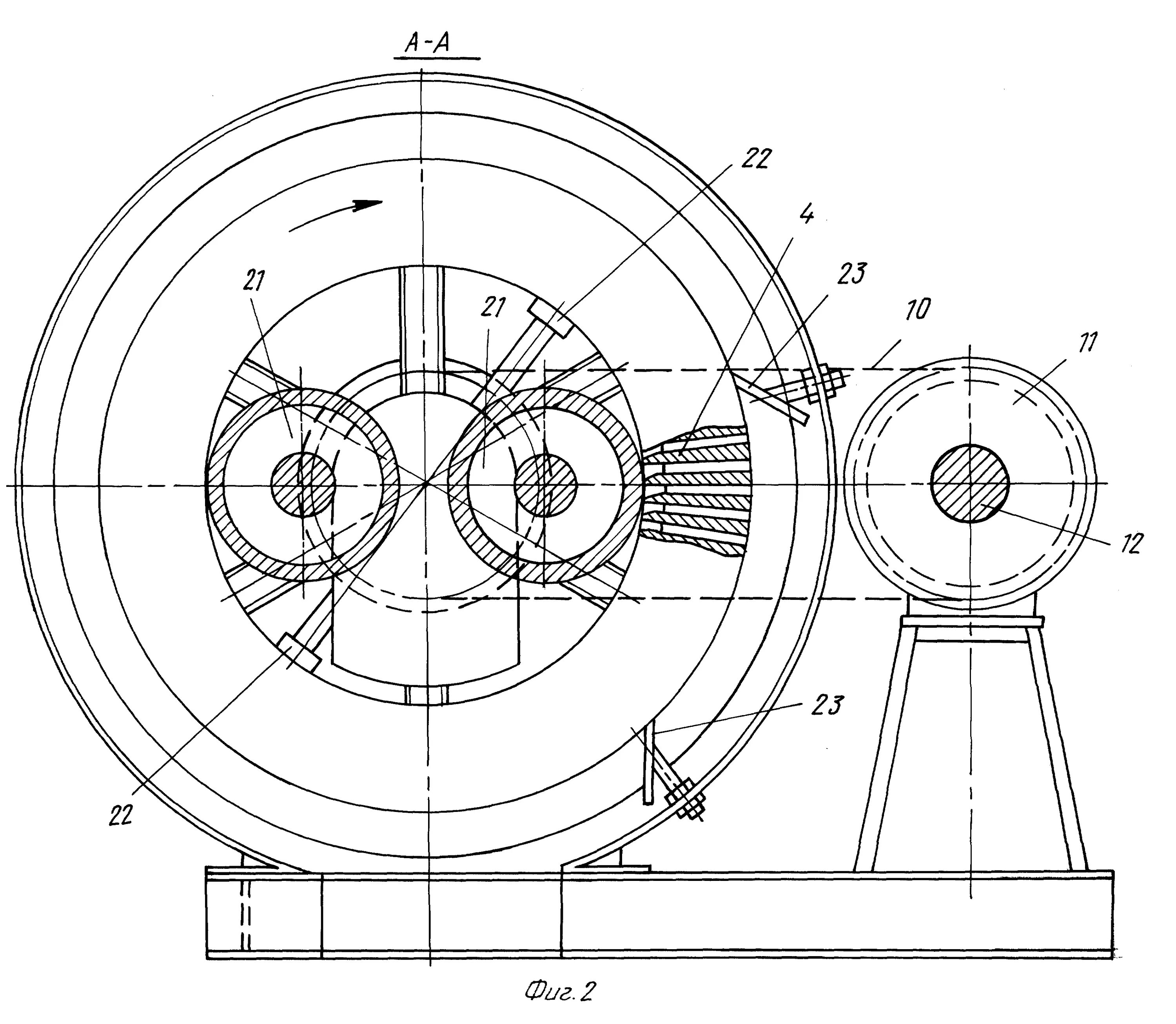
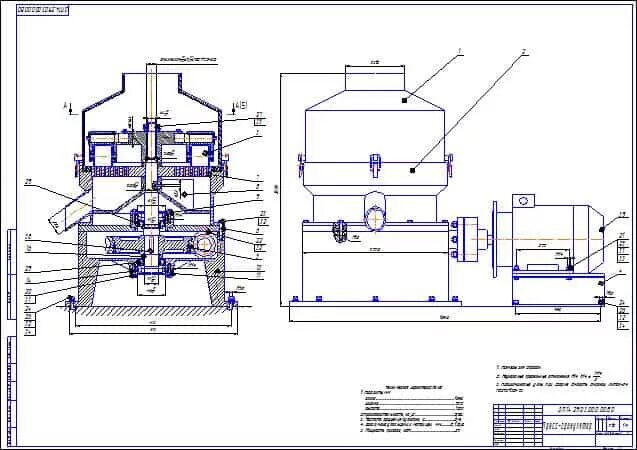
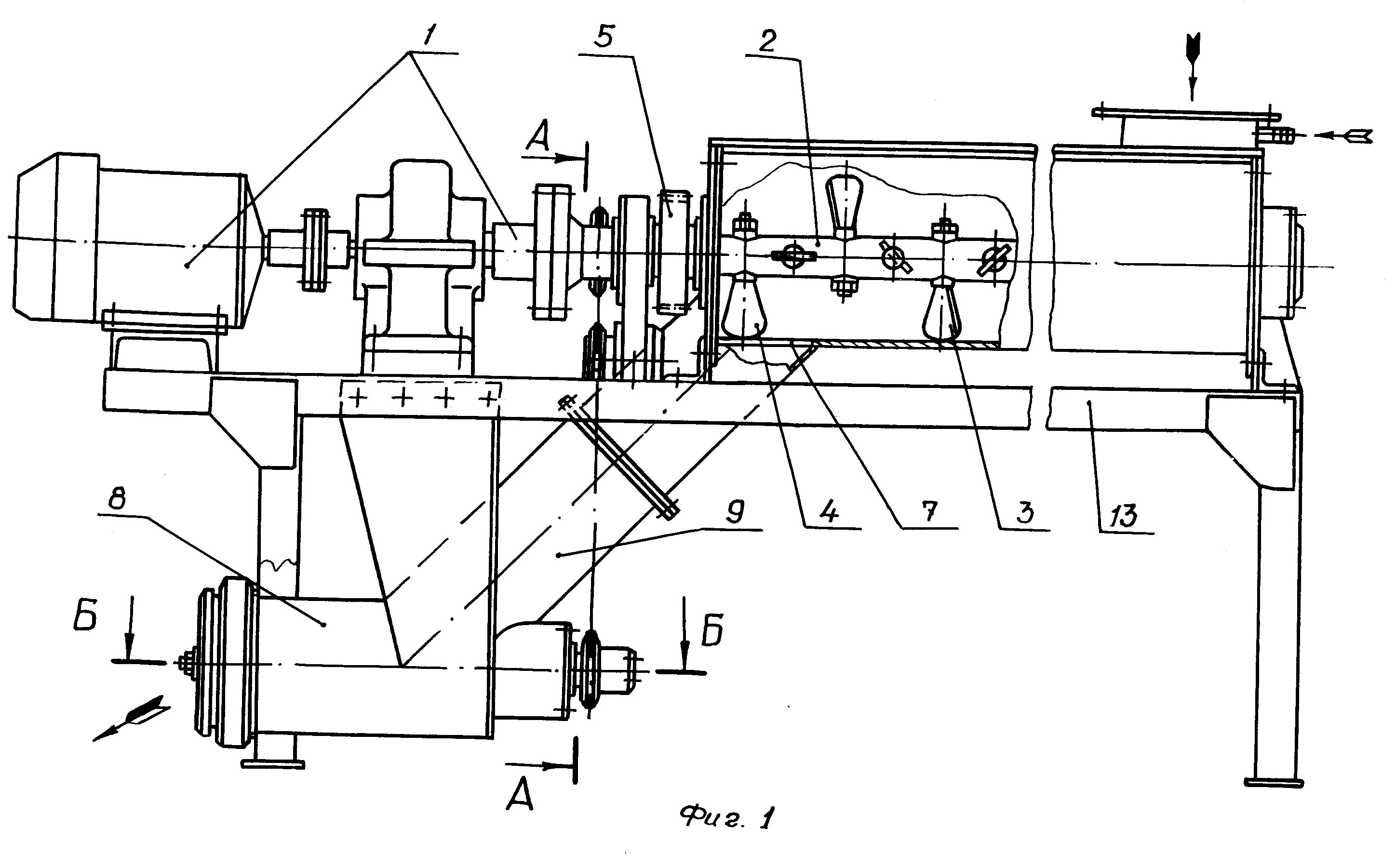
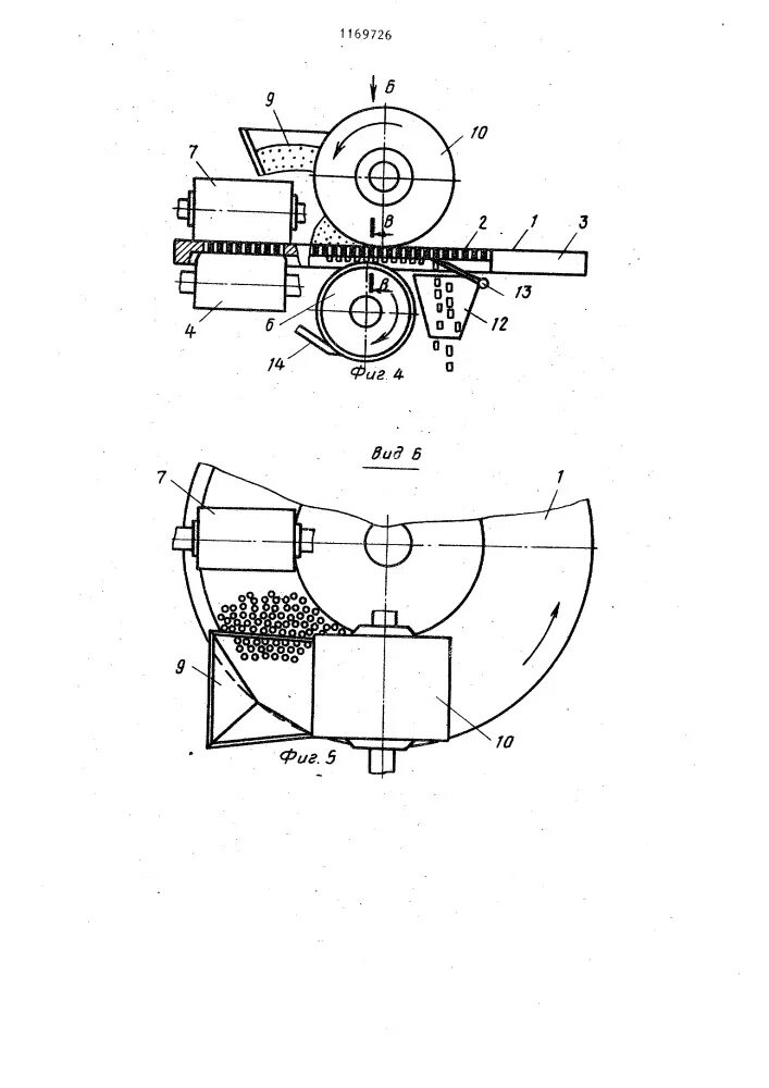
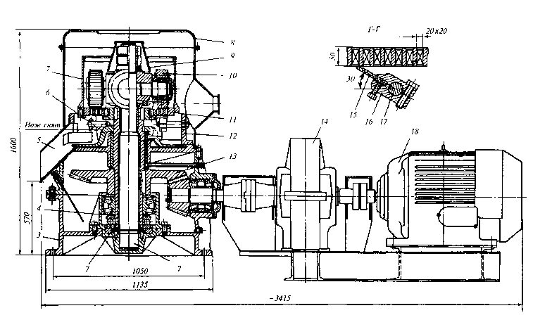
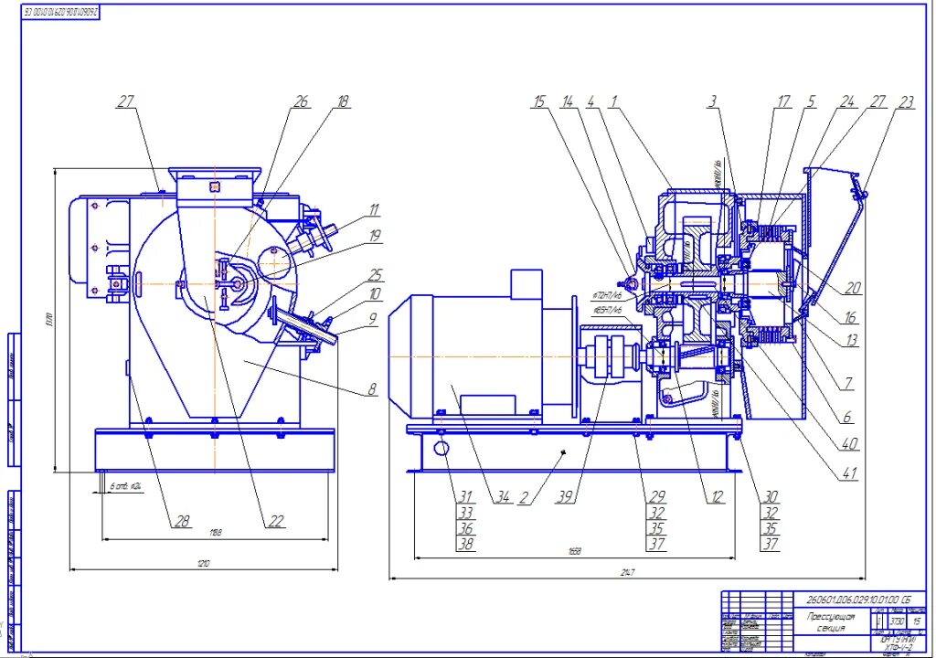
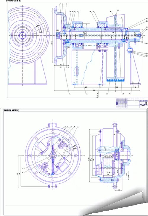
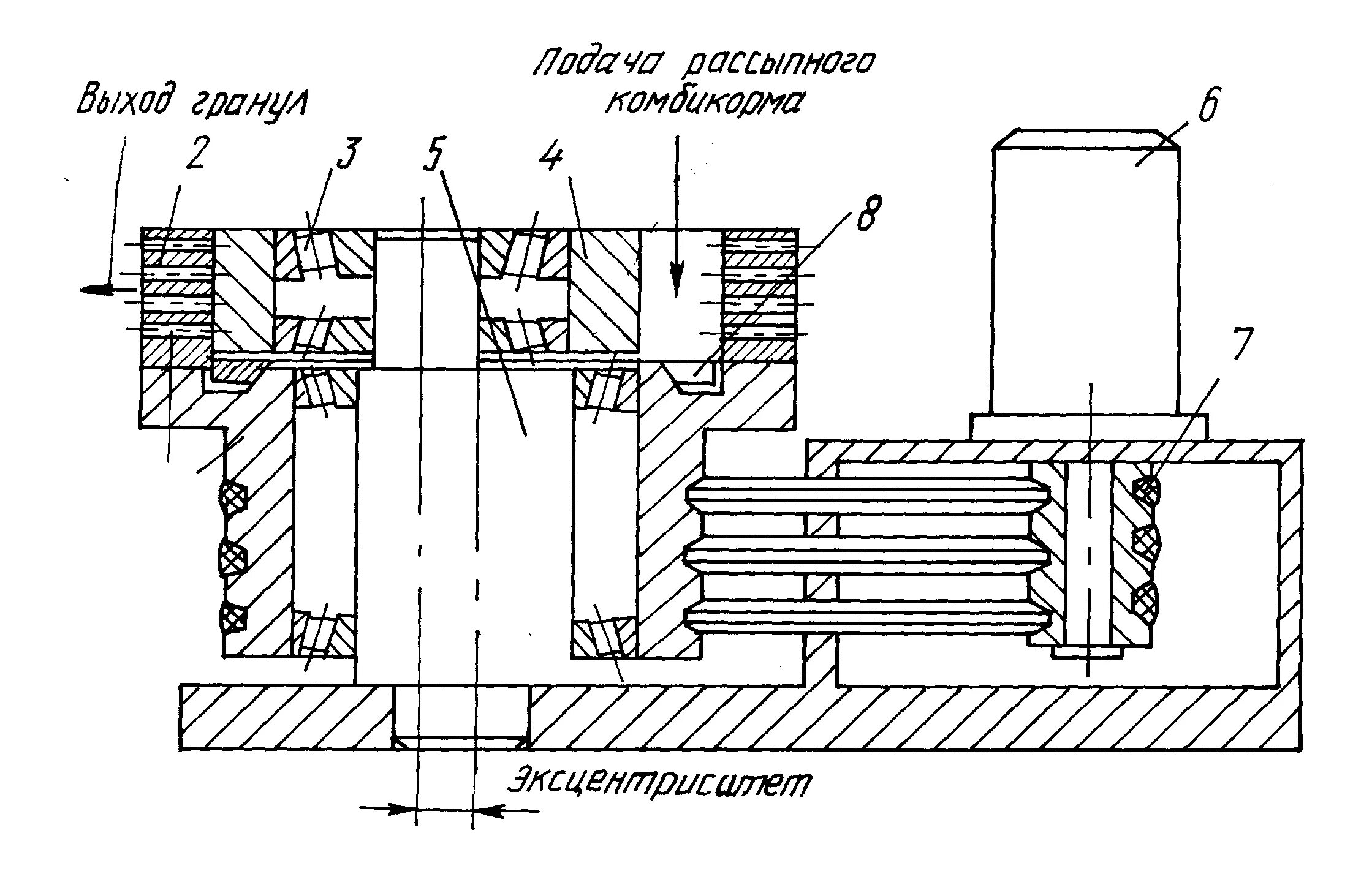
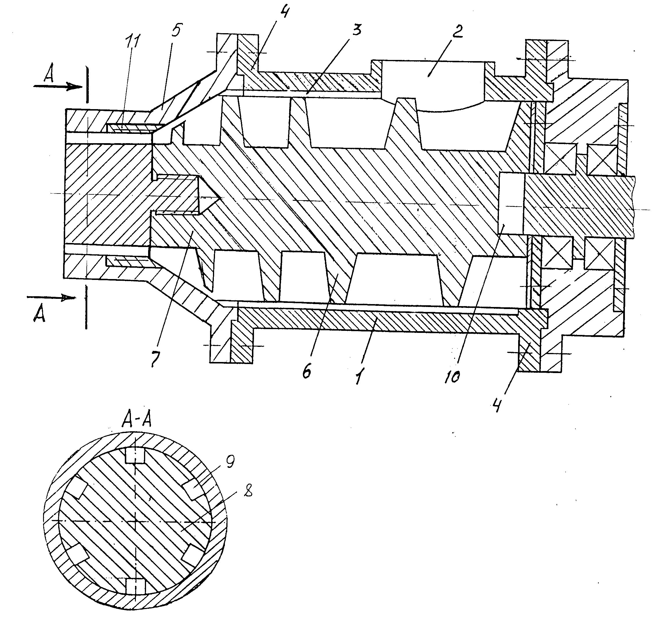
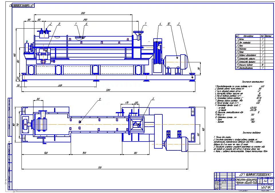
Чертеж гранулятора