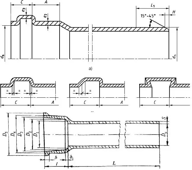
Чертеж трубы пвх