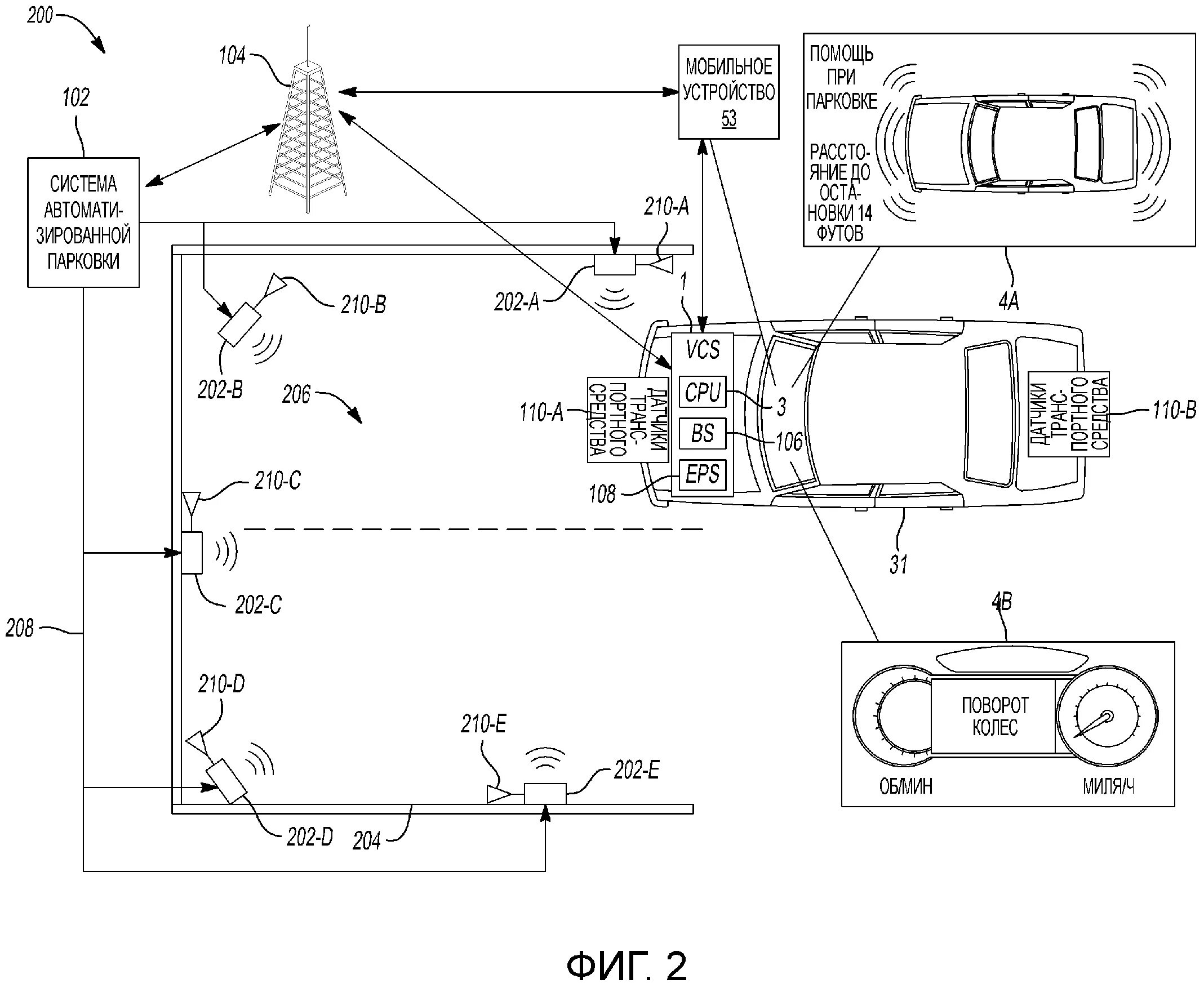
Датчик системы помощи при парковке