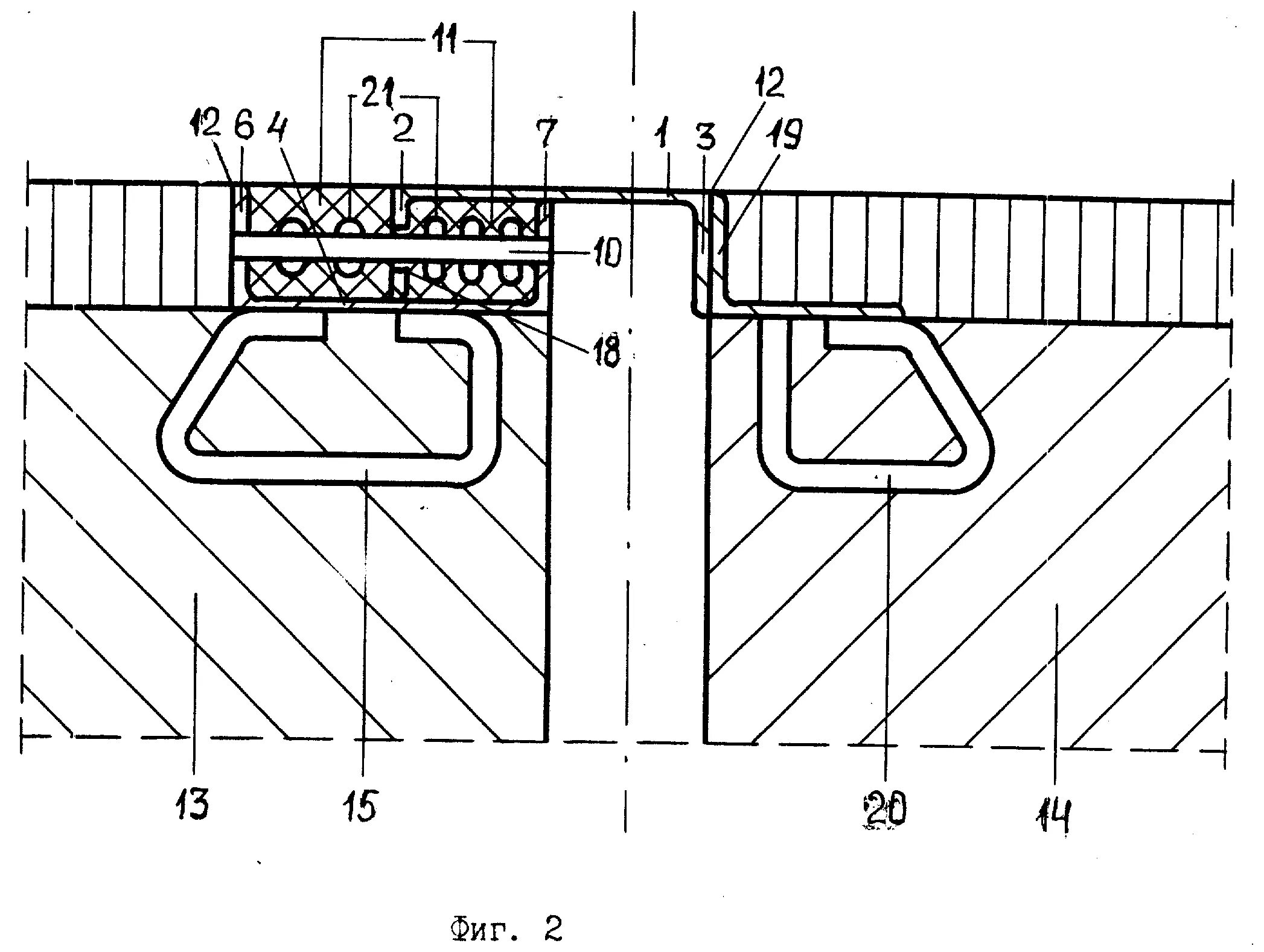
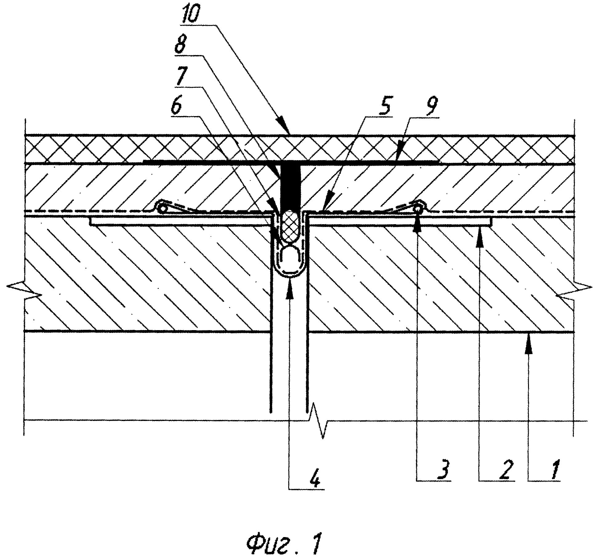
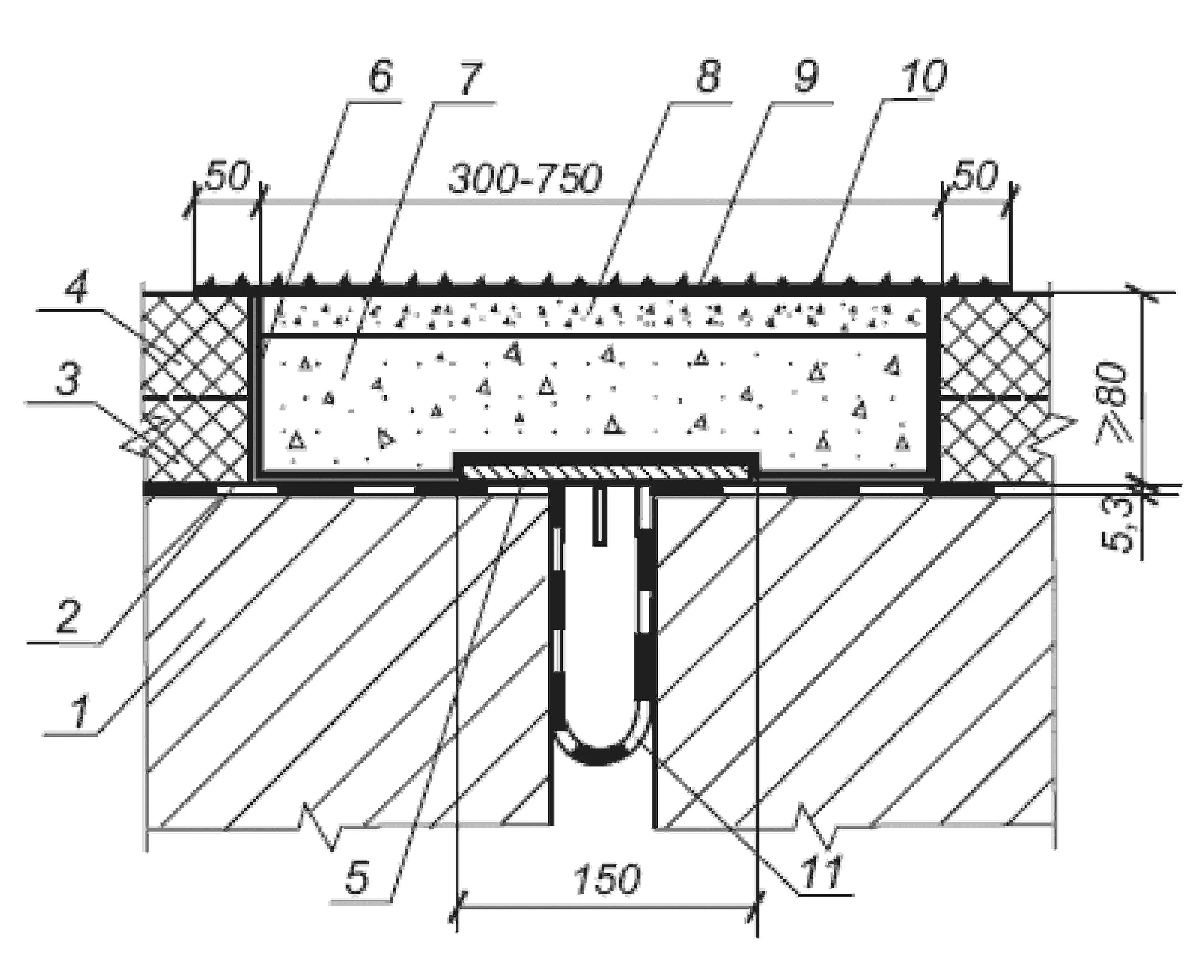
Деф шов