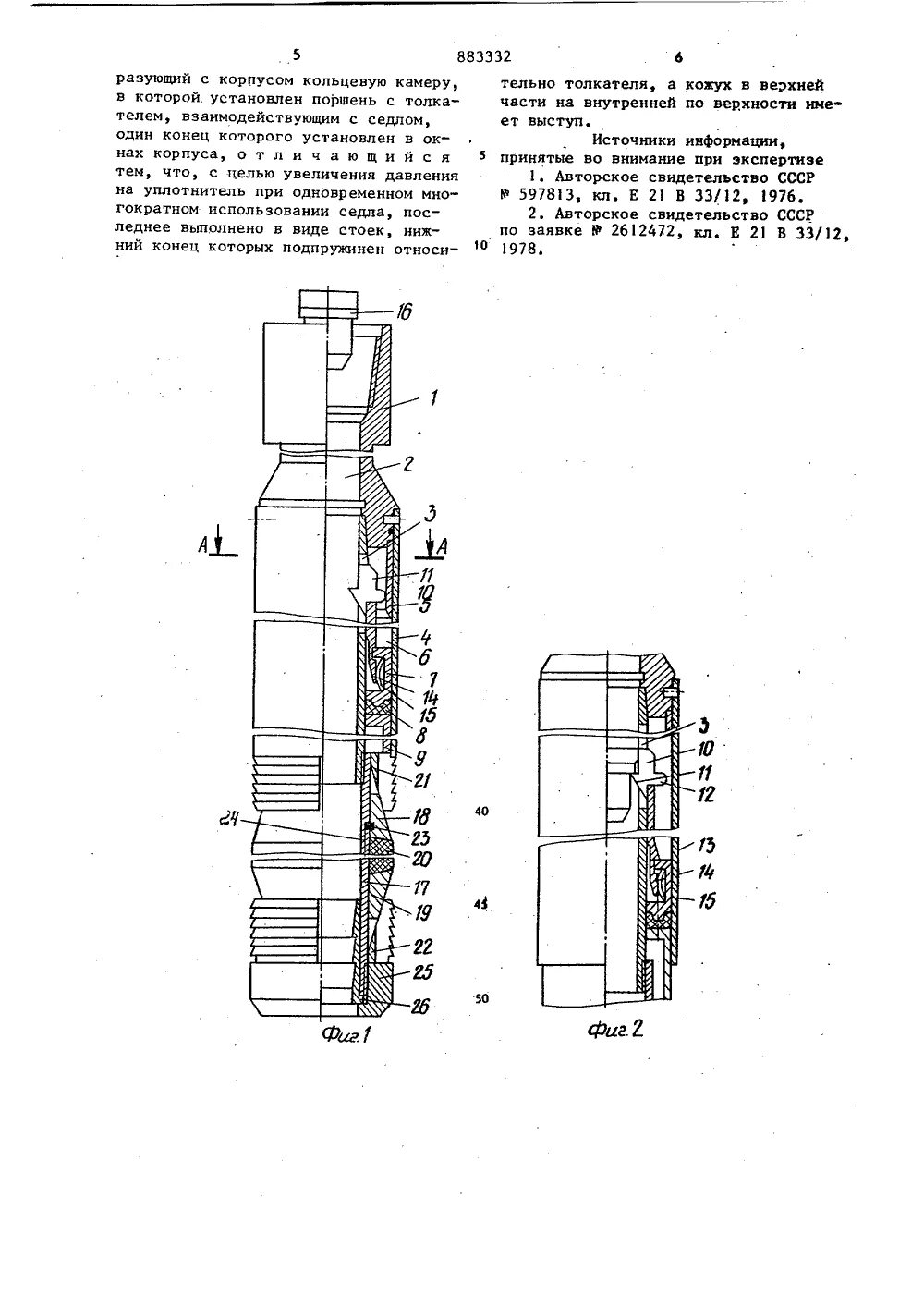
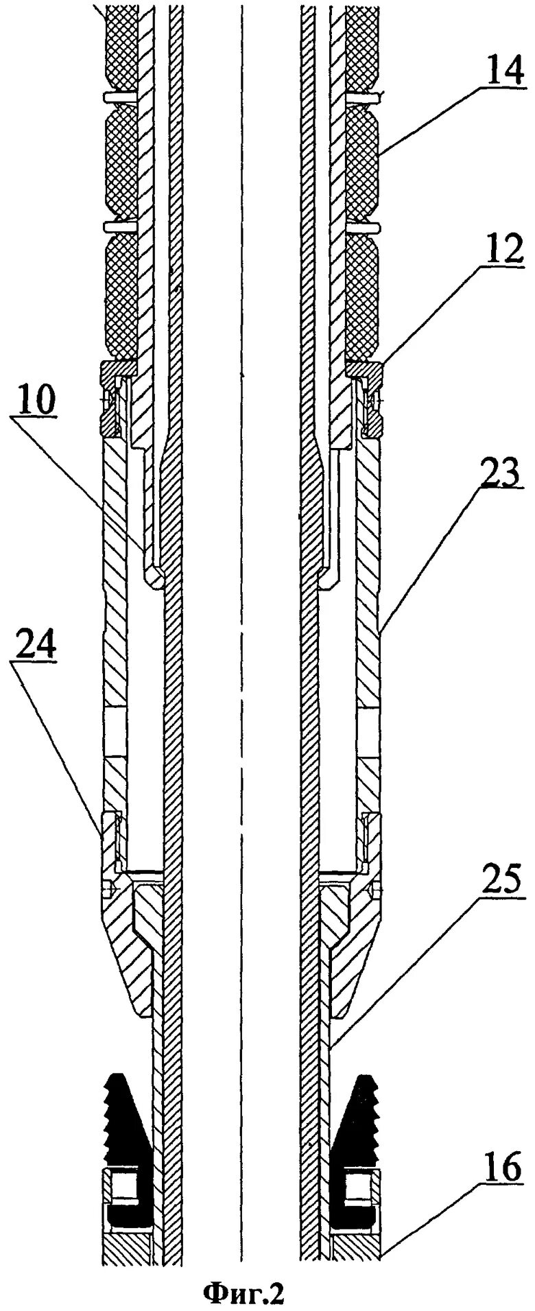
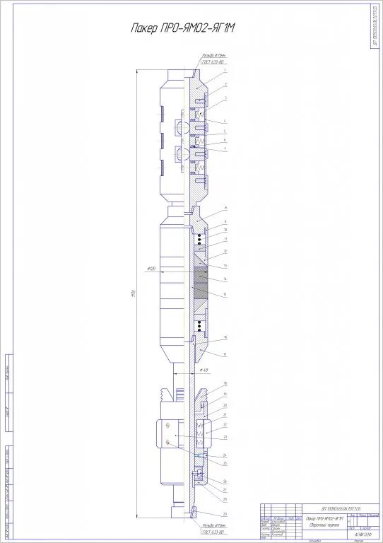
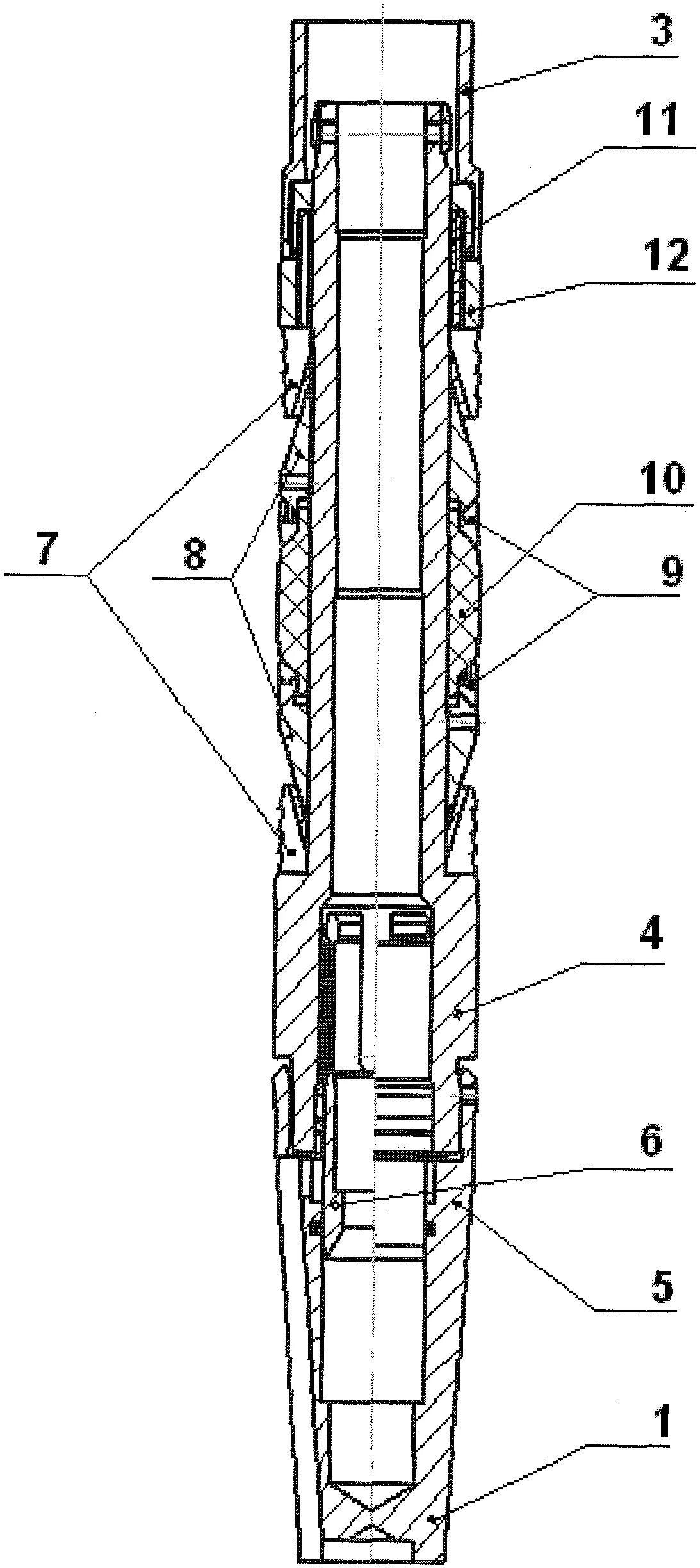
Длина пакера