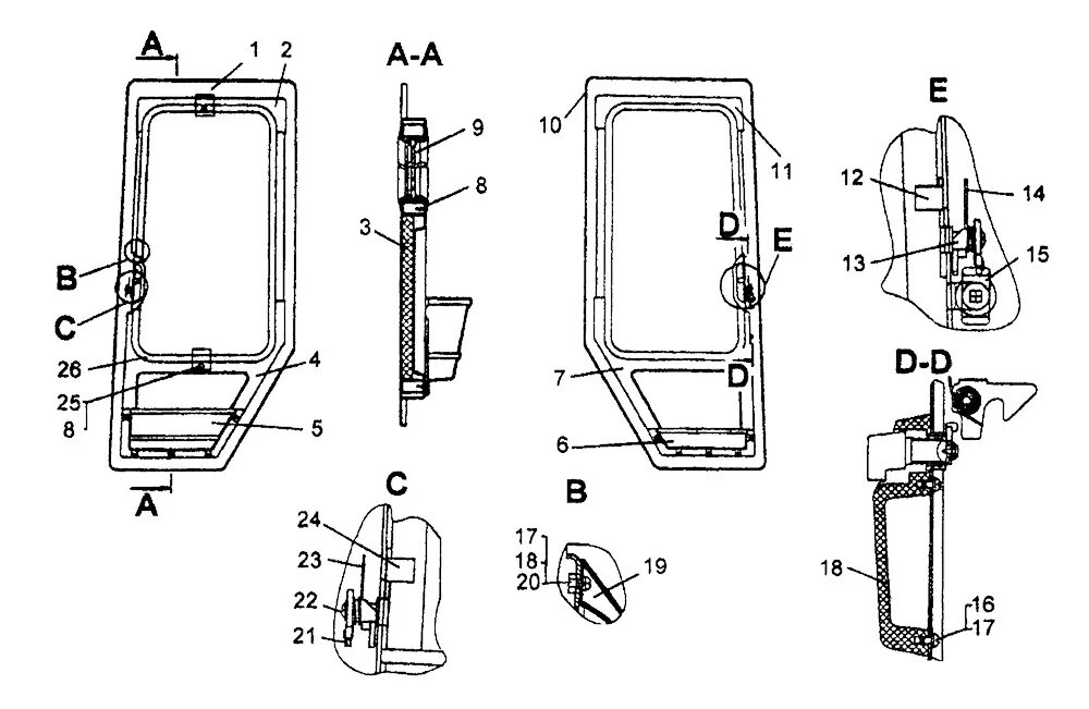
Двери бульдозер