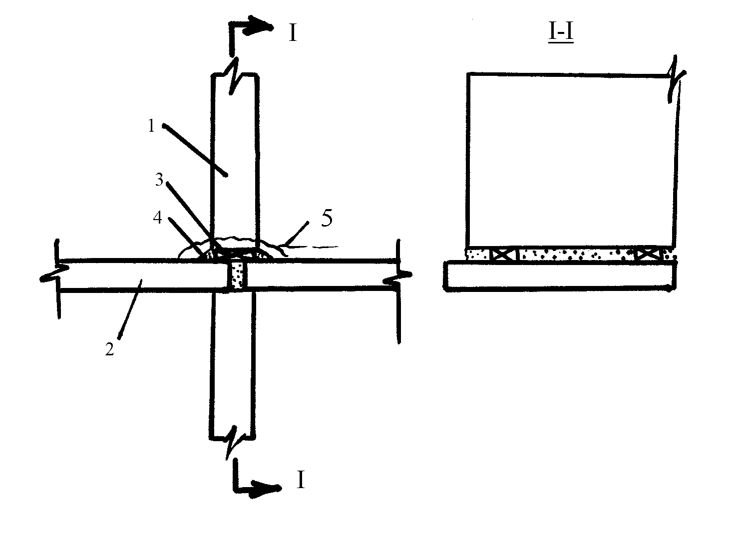
Элемент монтаж