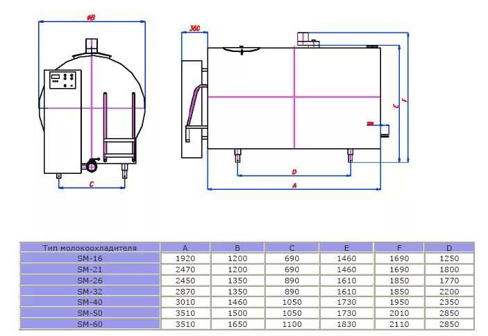
Емкость тип 16