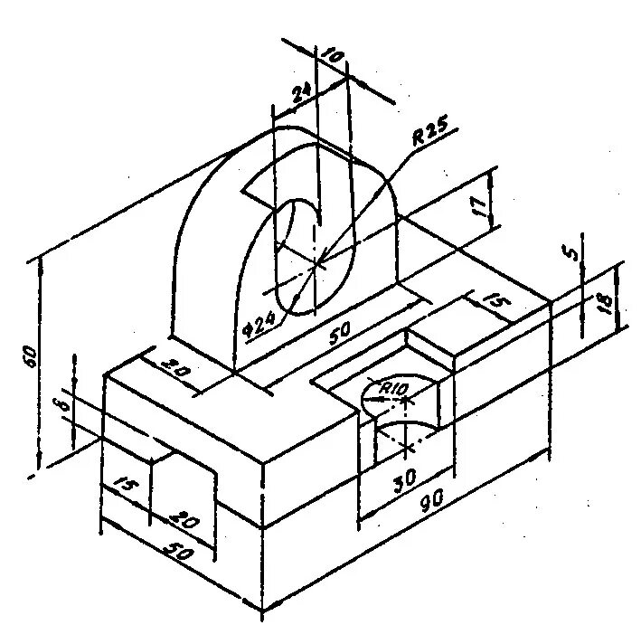
Эскиз содержит