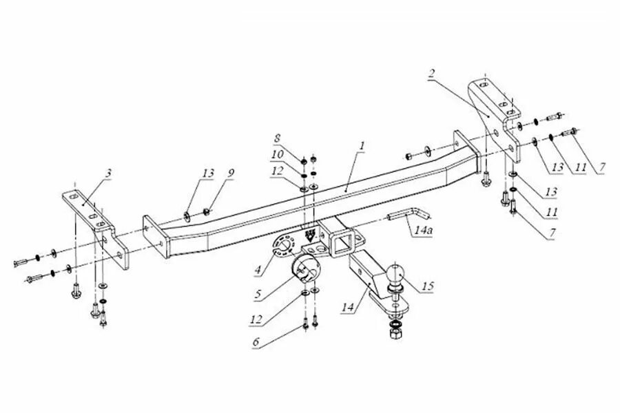
Фаркоп на вольво хс90