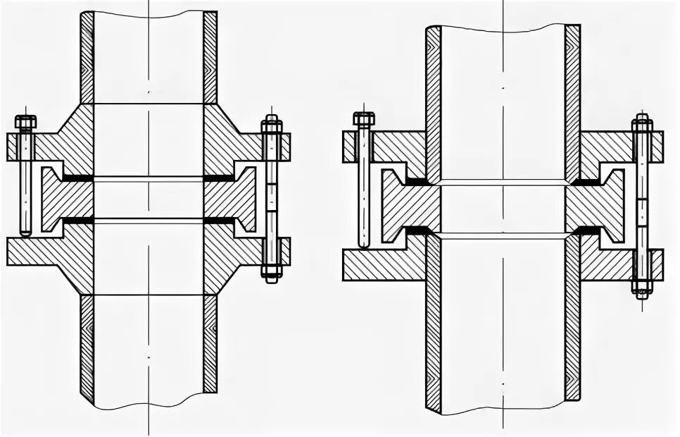
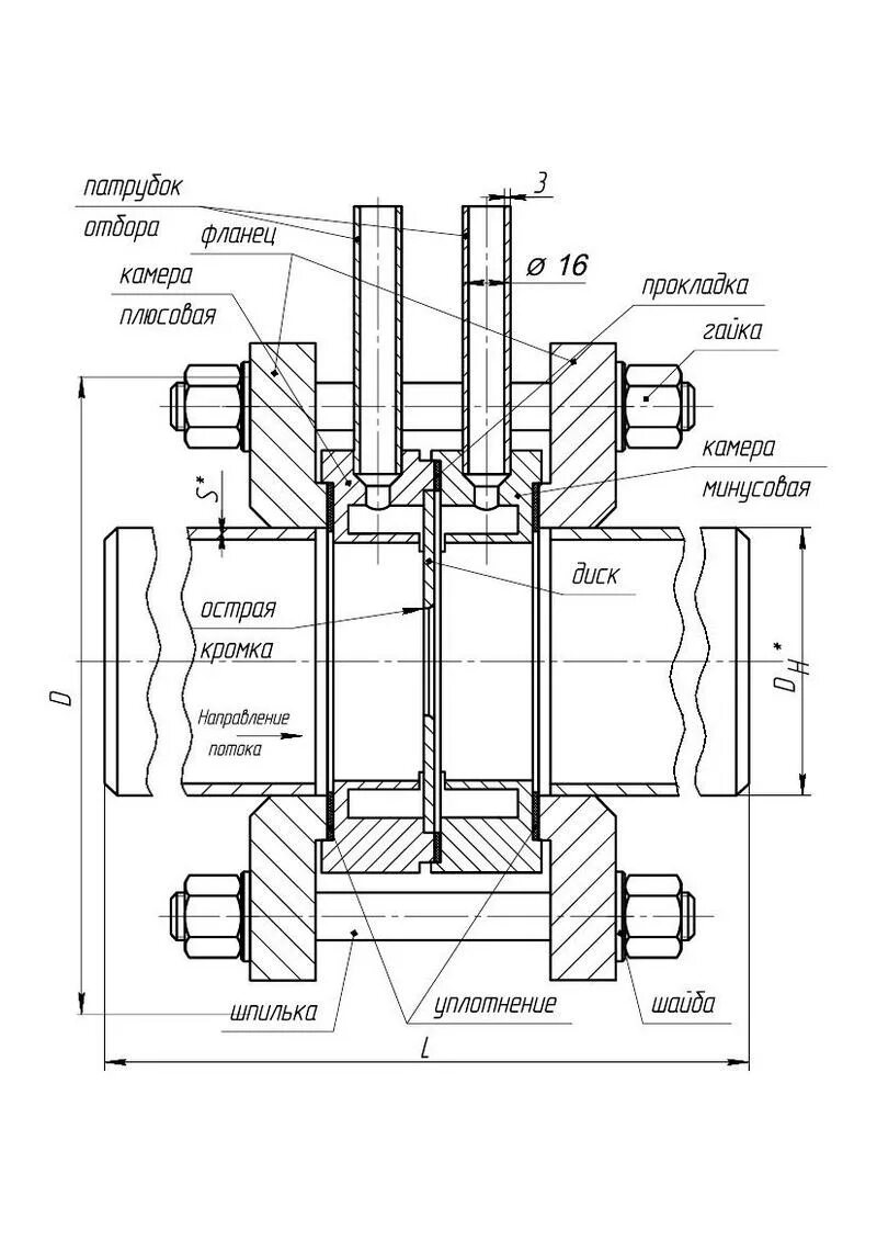
Фланец диафрагмы