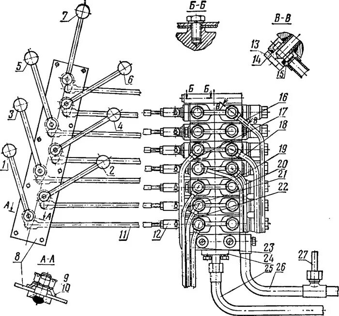
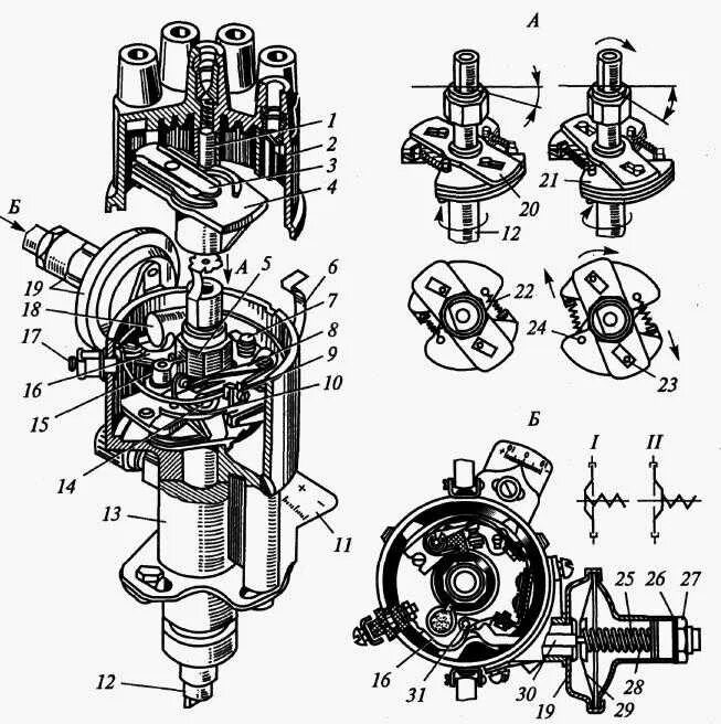
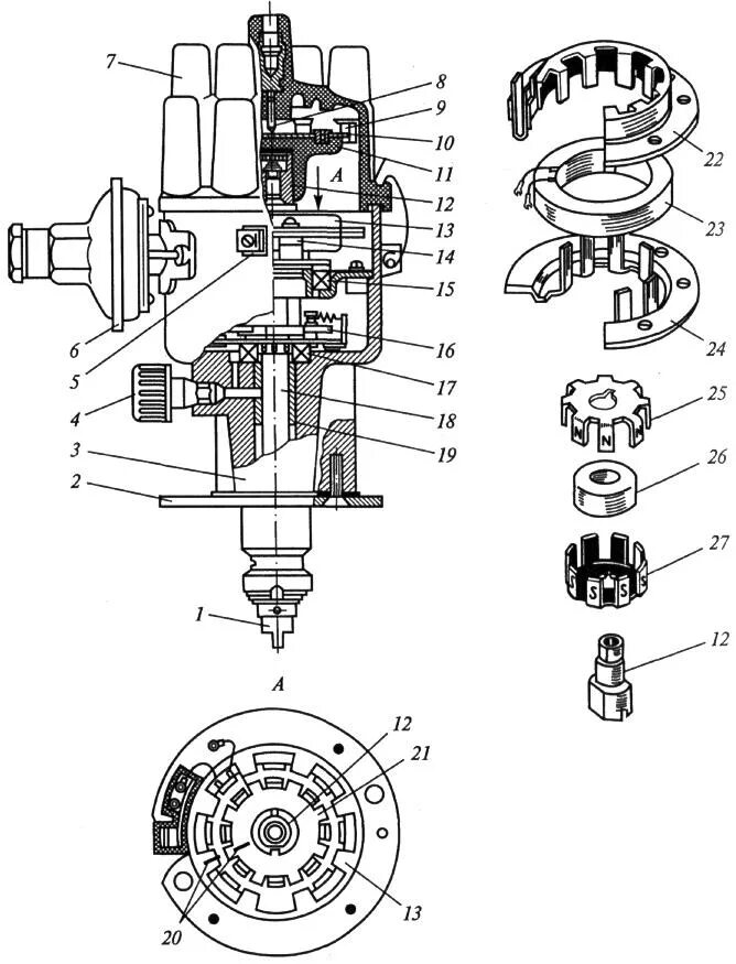
Функции распределителя