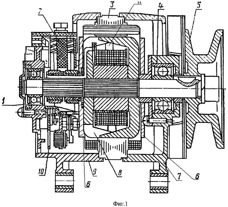
Генератор синхронного типа