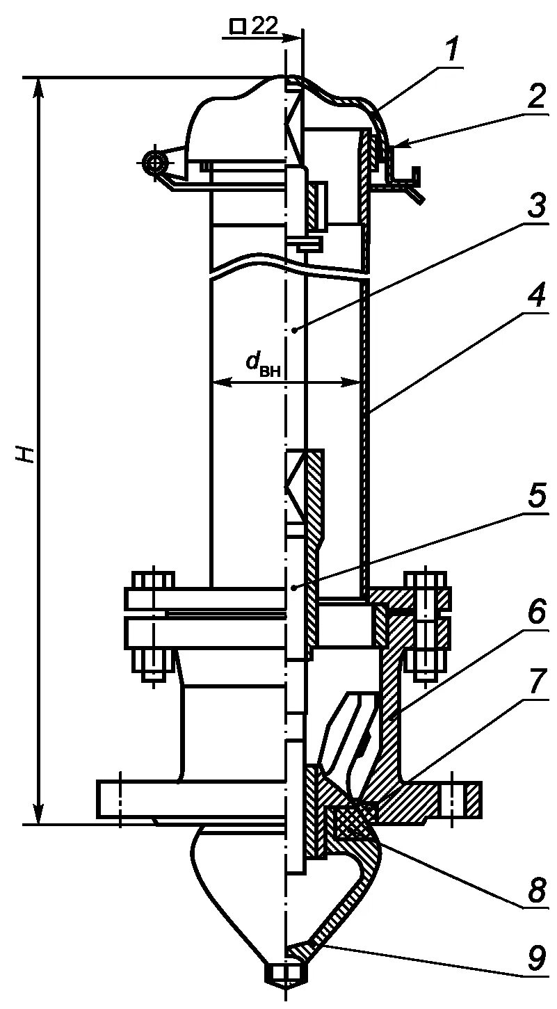
Гидрант строение