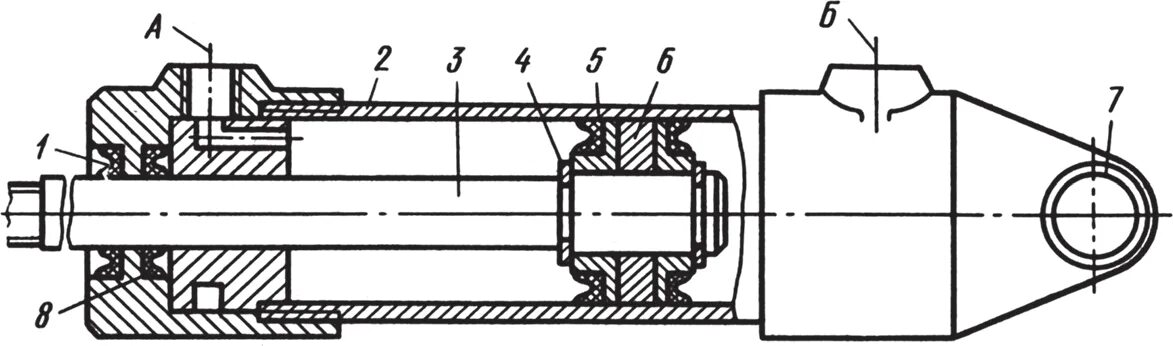
Гидроцилиндра стопор