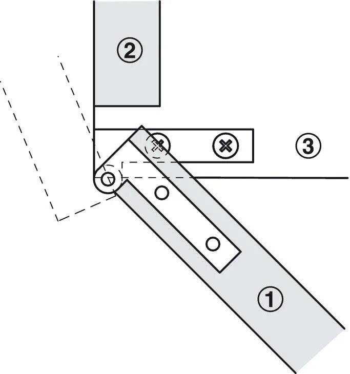
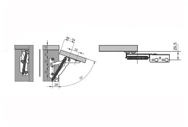
Горизонтальная петля