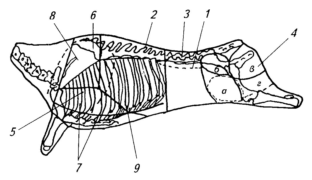
Говяжья разделка