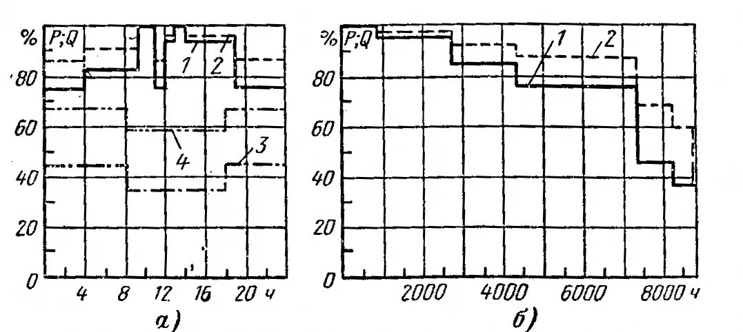
График нагрузки предприятия