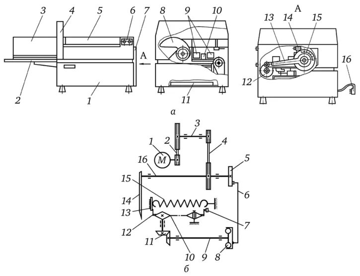
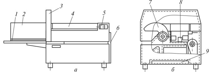
Хлеборезка янычар