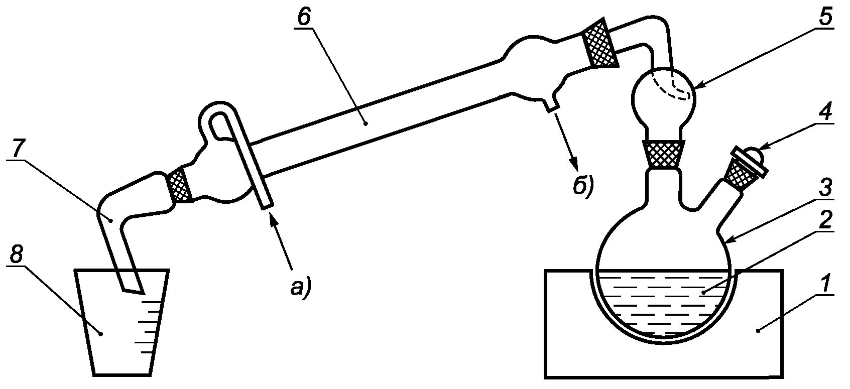
Индикатор формальдегида