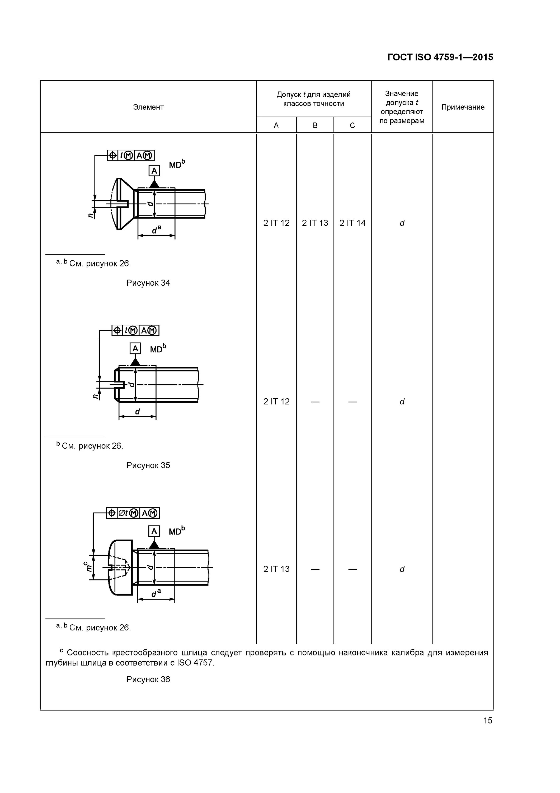
Исо 4759 1