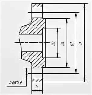
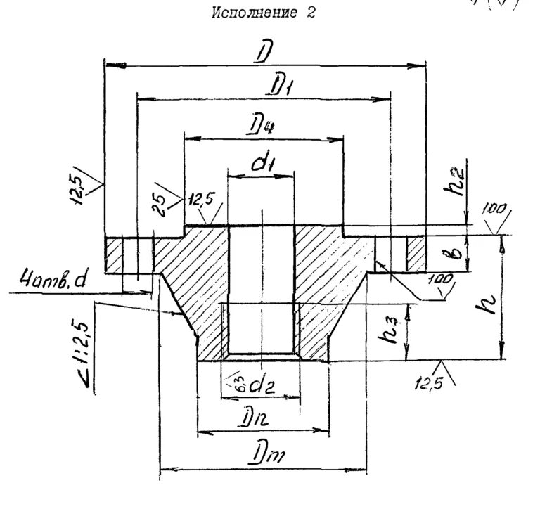
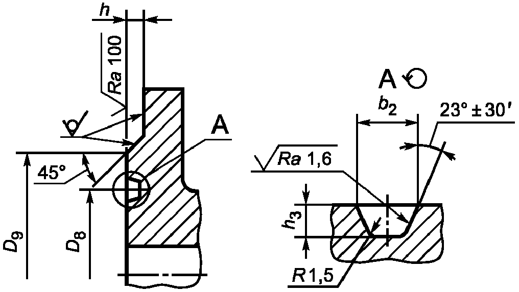
Исполнение е