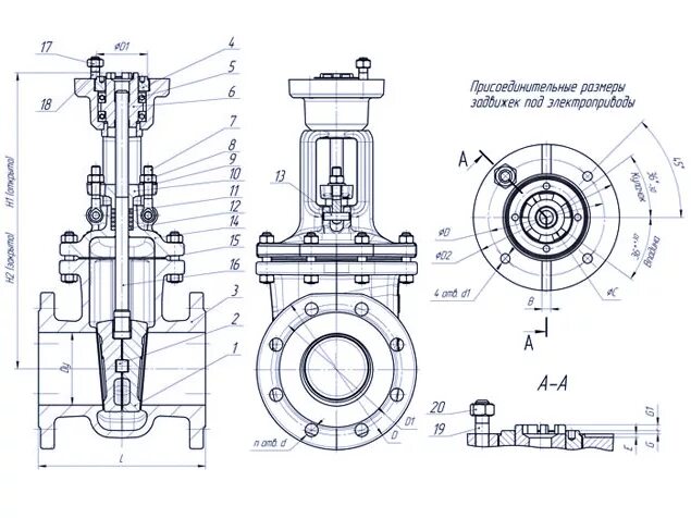
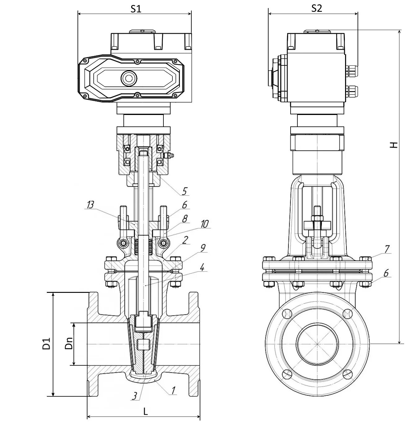
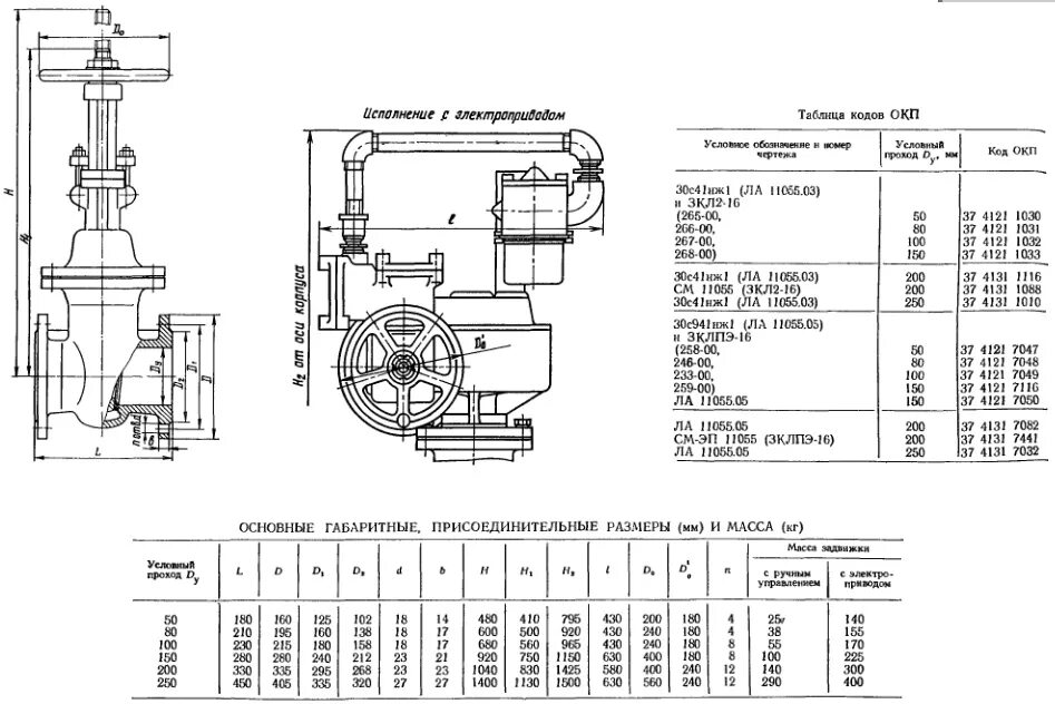
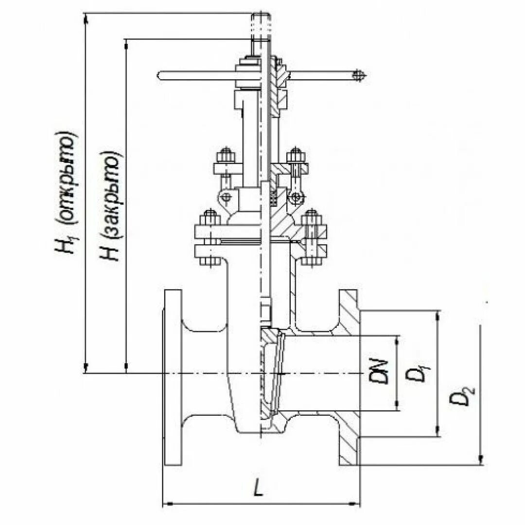
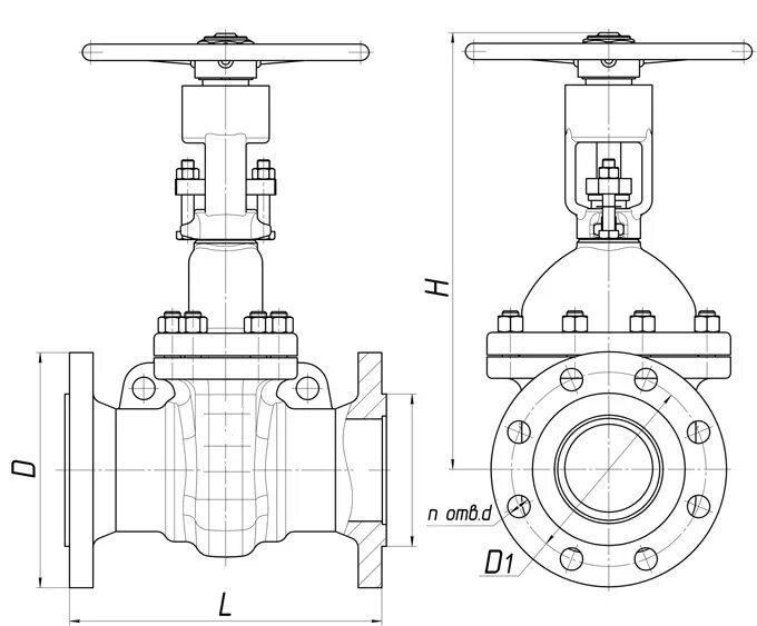
Исполнение задвижек