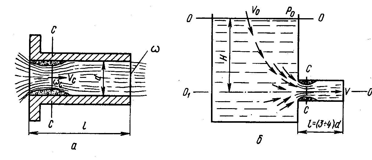
Истечение жидкости из насадок