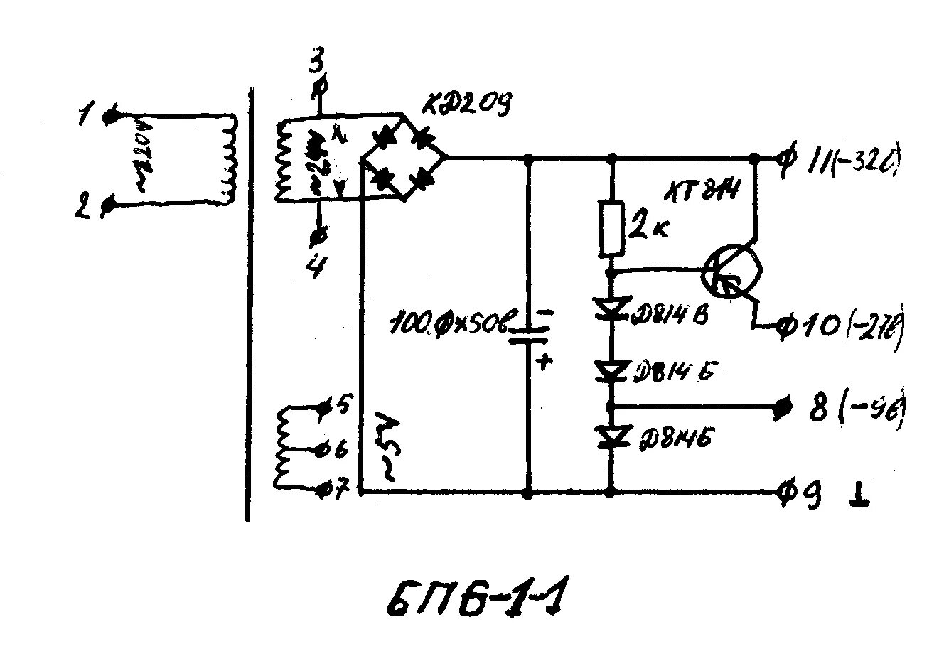
Источник питания 6 в