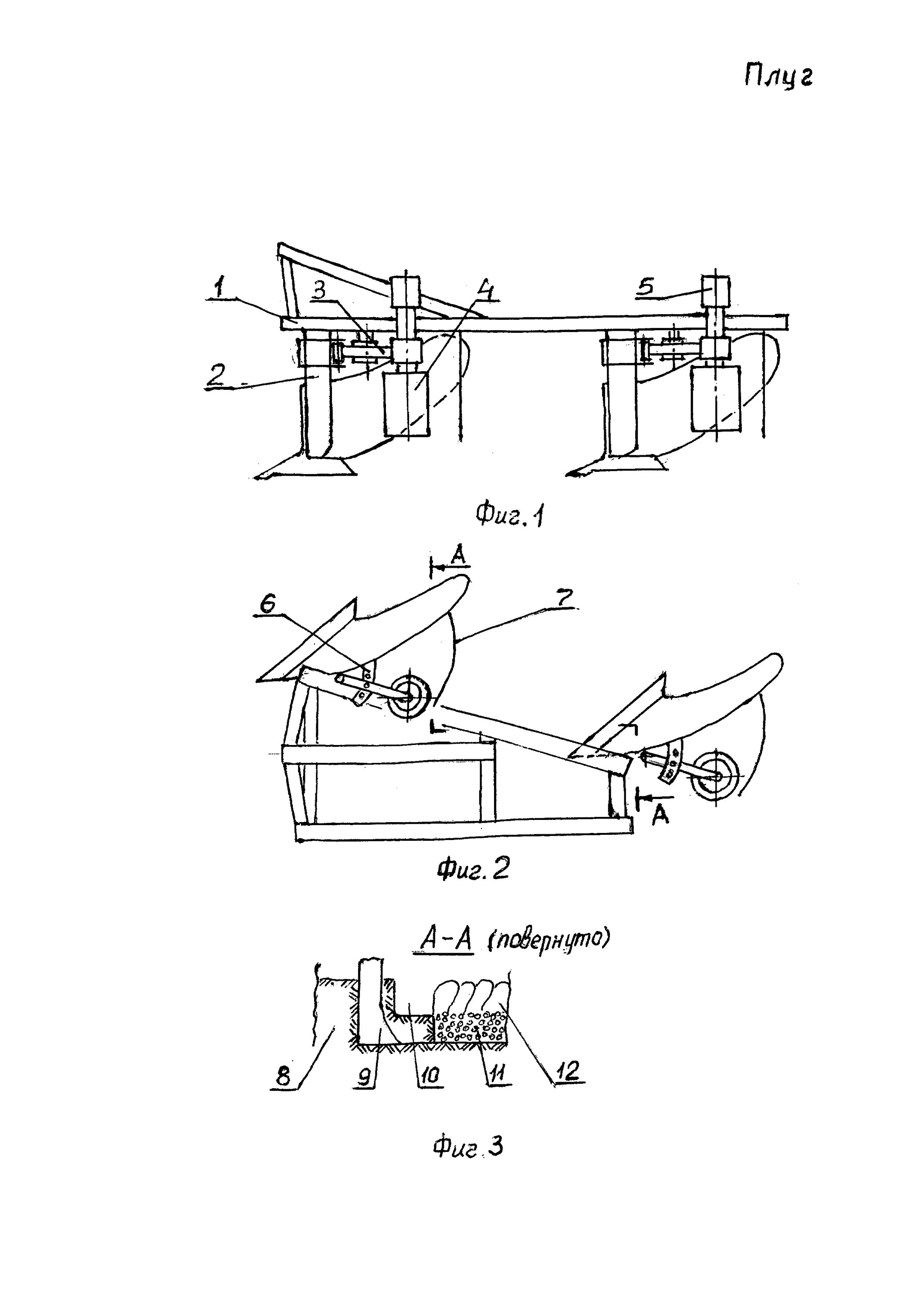
Из чего состоит плуг