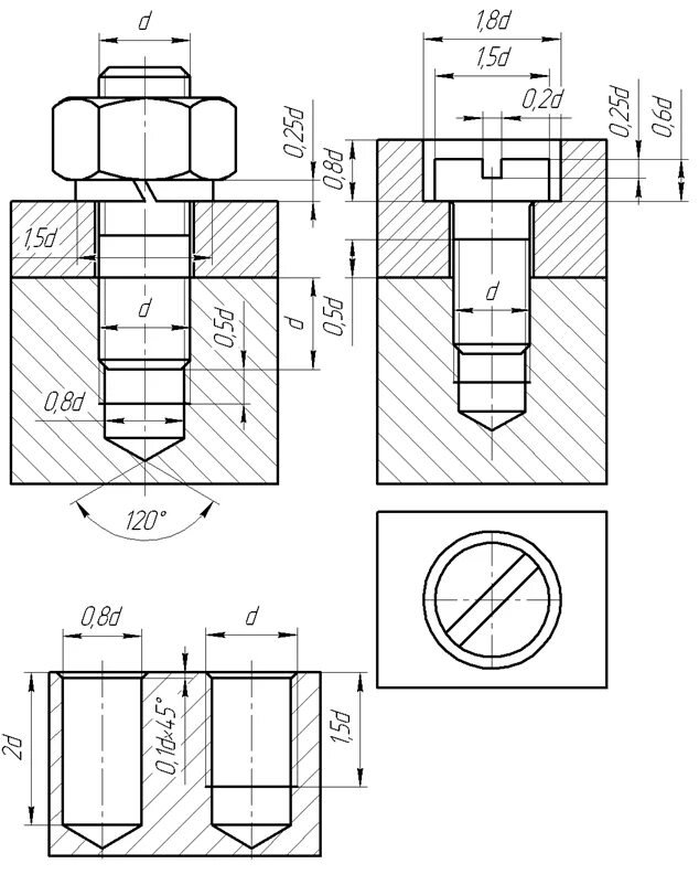
Изображение болтового соединения