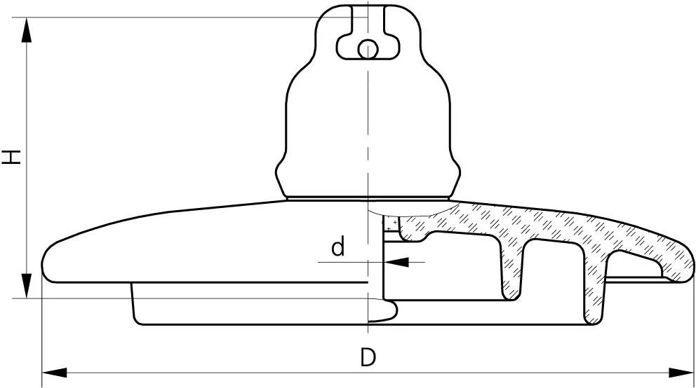
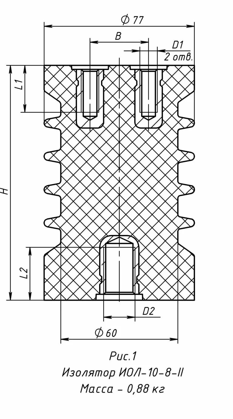
Изолятор вес