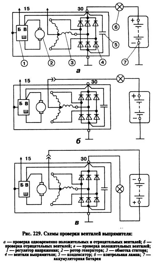
Как генератор заряжает аккумулятор