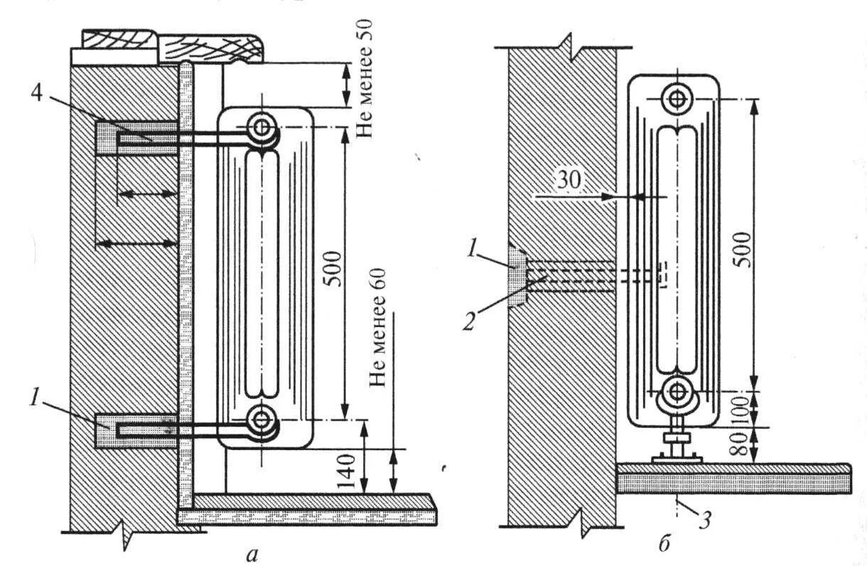
Как крепиться радиатор