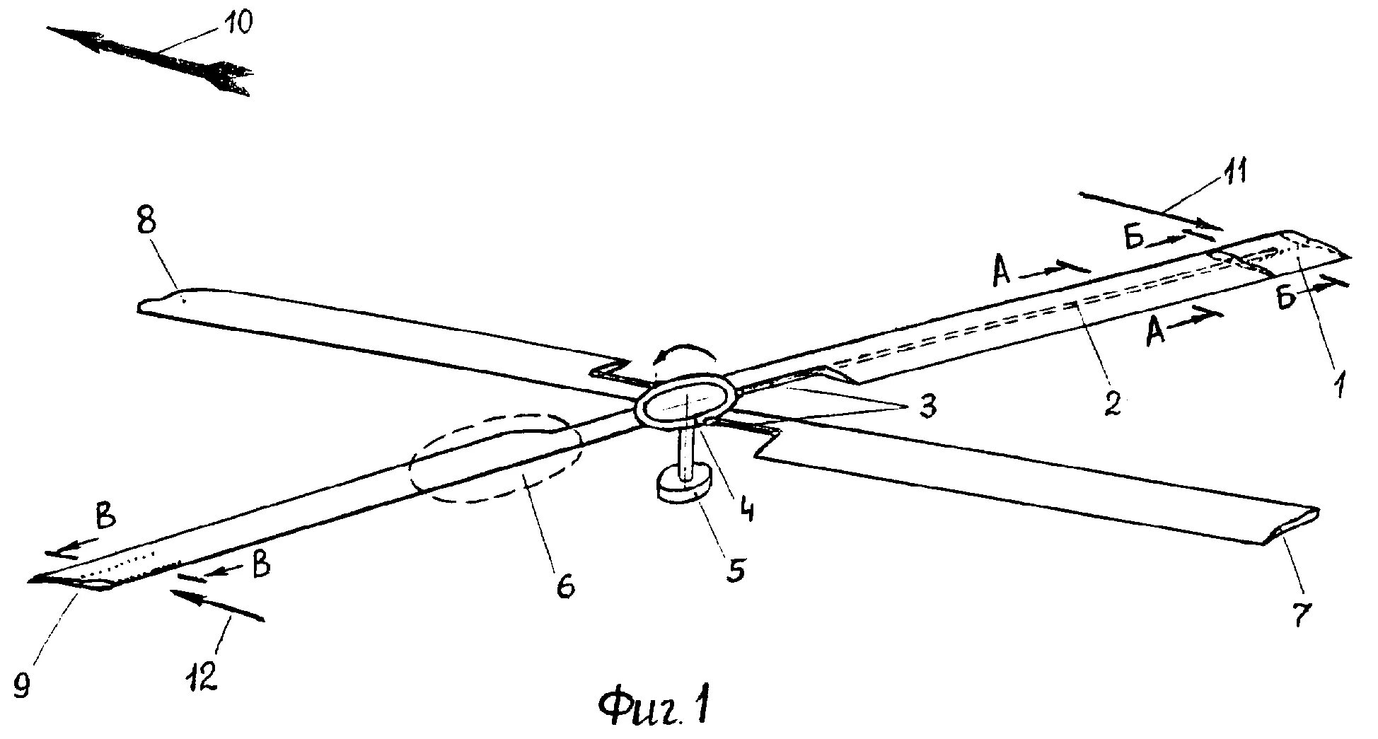
Как летает вертолет