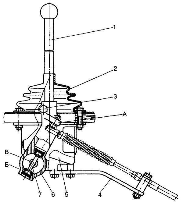
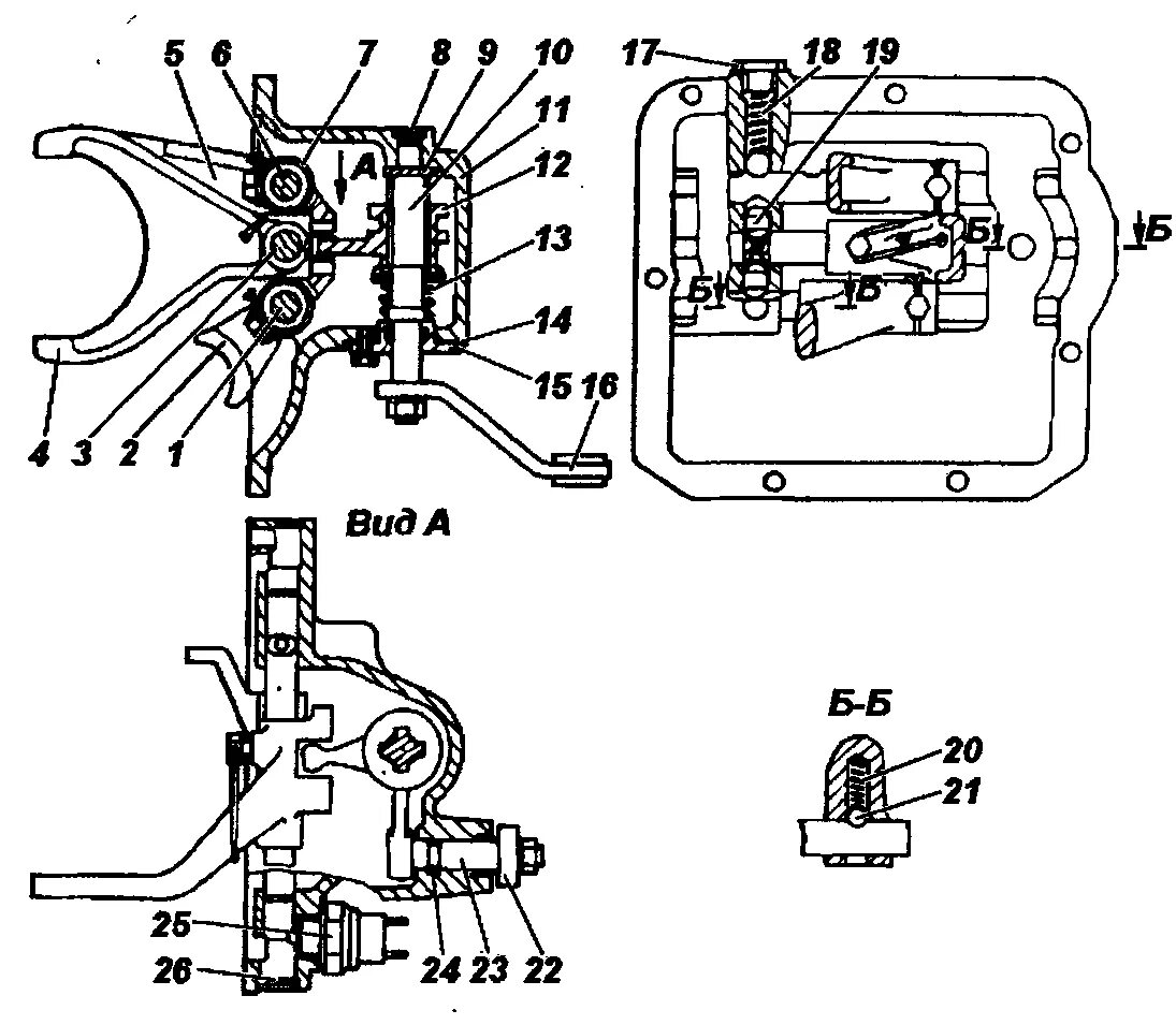
Как отрегулировать кпп