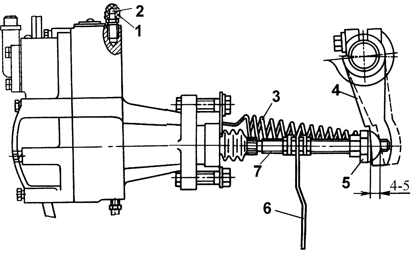
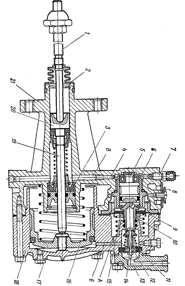
Как отрегулировать пгу