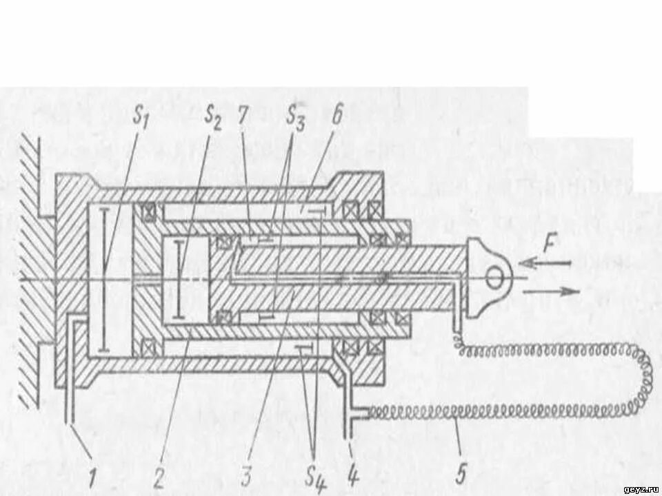
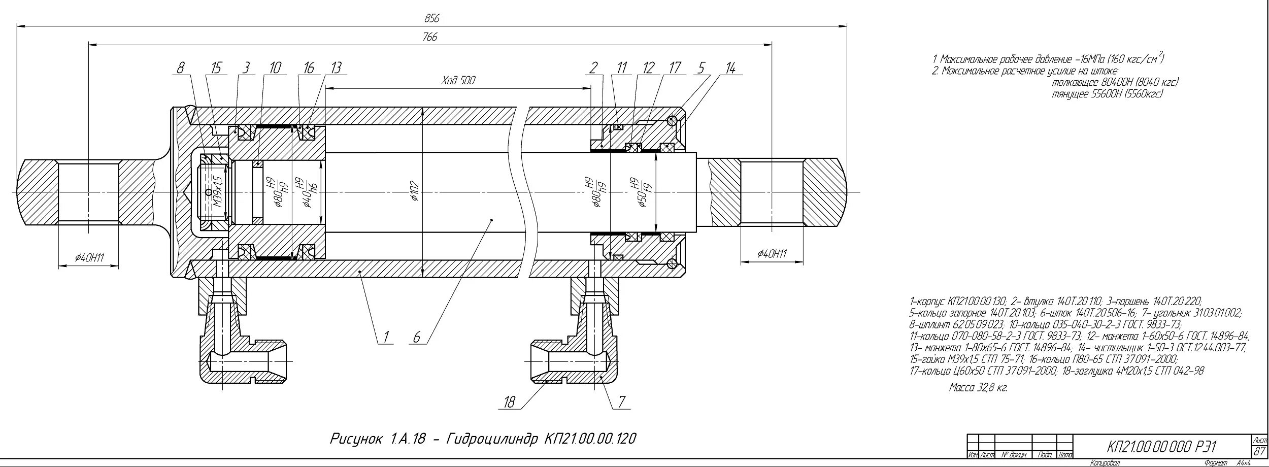
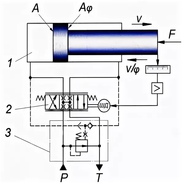
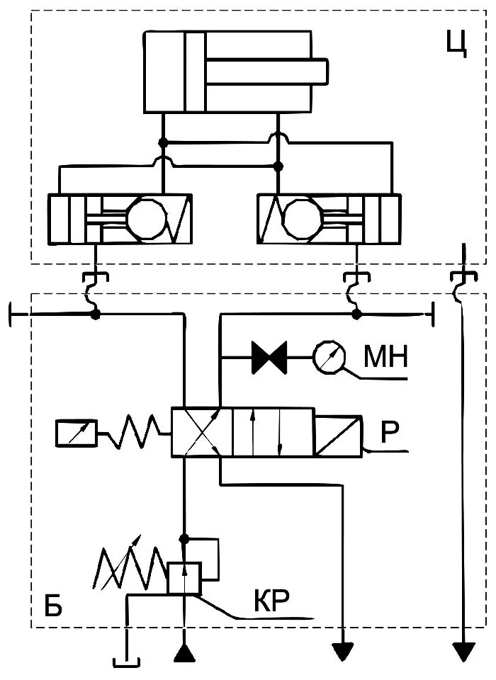
Как подключить гидроцилиндр