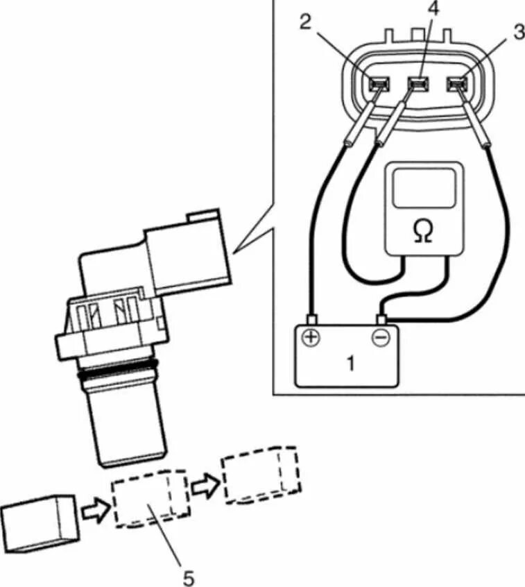
Как проверить датчик распредвала мультиметром