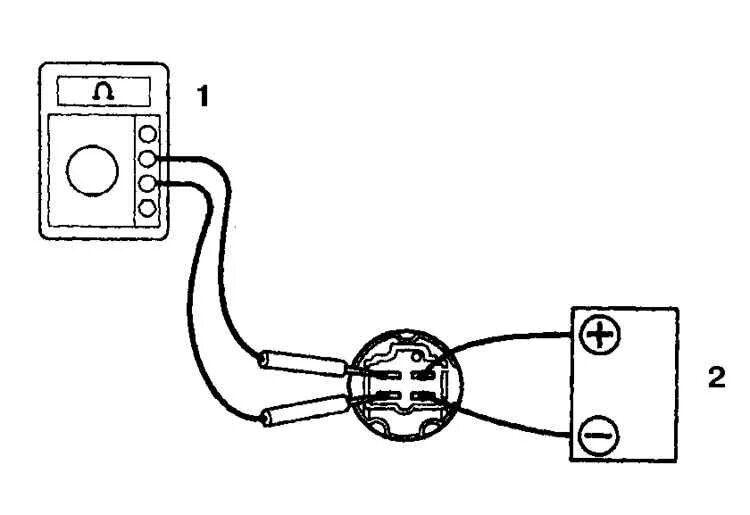
Как проверить реле предохранителя