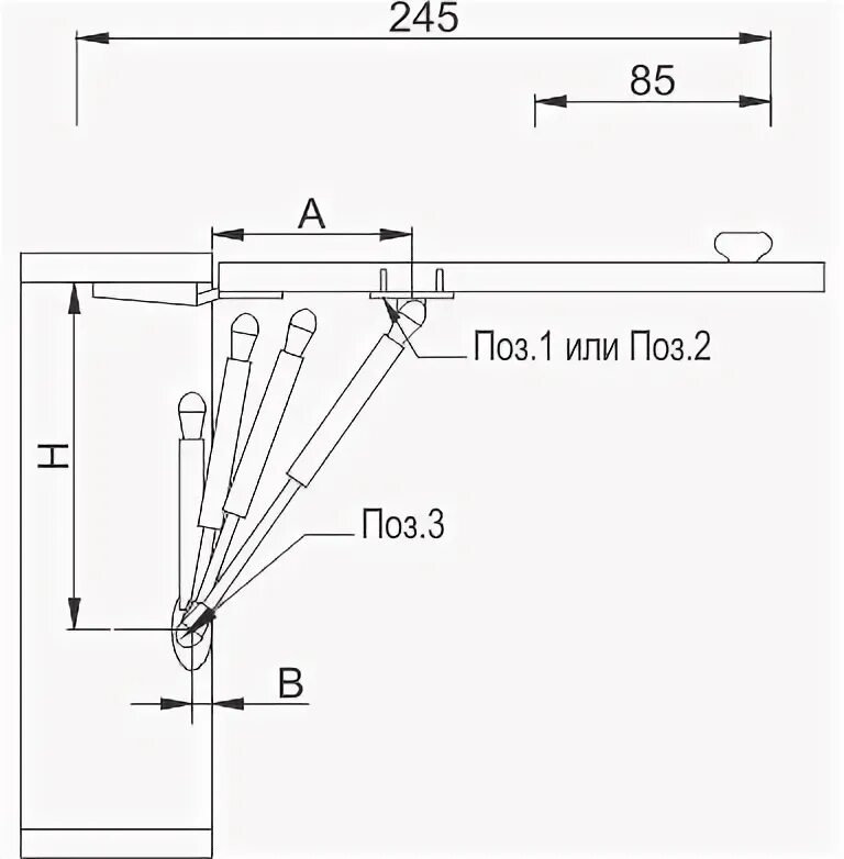
Как работает газлифт