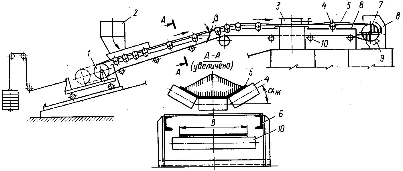
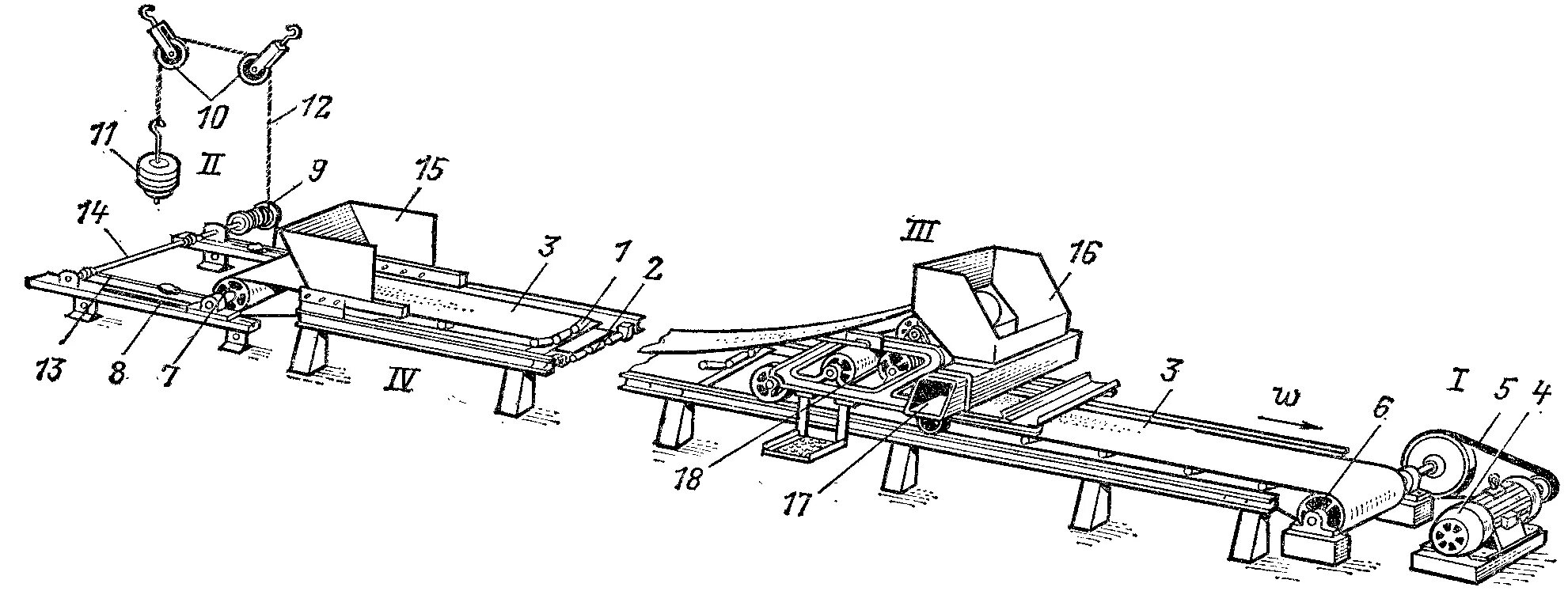
Как работает конвейер